样品
成果详情
| 项目简介 | |||||
|---|---|---|---|---|---|
| 技术简介: | |||||
| 专利类型: | 实用新型 | 专利申请号: | CN202121259920.7 | 公开号: | CN215305341U |
| 专利权人: | 南方医科大学南方医院 | 发明设计人: | 韦甜甜;黄平 | ||
| 所属领域: | |||||
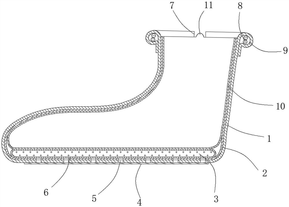
| 摘要: | 本实用新型涉及泡脚器技术领域,特别是一次性中药泡脚器,包括外保护层,所述外保护层的形状仿照人体足部外形,所述外保护层的内壁固定连接有保温层,所述保温层内壁的底面固定连接有透气层,所述透气层的内部盛装有发热剂,所述透气层的顶面和保温层的内壁设置有盛装层,所述盛装层外壁的顶部固定连接有胶粘层;本实用新型通过外保护层的内部固定连接有保温层,保温层的内部固定连接有盛装层,人体足部直接放进盛装层的内部,进而可以将一定量的中药水添加到盛装层的内部,从而便于使用者实现泡脚的目的,同时该泡脚器整体仿照人体足部设计,可以便于使用者进行收纳存放和携带,便于使用者随时随地进行泡脚。 | ||||
| 补充信息 | |||||
| 转让方式: | 成熟度: | 预估价值: | |||
| 市场前景: | |||||