成果库

查看成交记录

一种可调气管食管瘘闭塞装置

本发明涉及医疗装置领域,具体公开了一种可调气管食管瘘闭塞装置。所述可调气管食管瘘闭塞装置包括左右两个盘状主体和置于盘状主体内的阻流膜,所述盘状主体为由具有形状记忆能力的材料编织而成的网状结构;所述左右两个盘状主体之间通过可拉伸的腰部相连。本发明所提供的可调气管食管瘘闭塞装置其腰部具有长度可调设计,可以适应多种长度不同的气管食管瘘的封堵,其左盘具有特殊的设计,与食道生理活动横向收缩相适应,减少横向切割效应,并且可以减少食道狭窄的发生;其封...

检测非小细胞肺癌驱动基因突变谱的方法及试剂盒与应用

本发明公开一种检测非小细胞肺癌驱动基因突变谱的方法及试剂盒与应用。该方法包括如下步骤:设计扩增非小细胞肺癌七种相关基因外显子区段的扩增引物,共15对,将扩增引物分组配制成扩增引物混合液,分为6组,使用扩增引物混合液分别对待检样品进行多重PCR扩增后进行酶消化;设计用于检测热点突变位点的延伸引物,共39条,将延伸引物分组配制成延伸引物混合液,对应于扩增引物混合液,也为6组,将前述消化后的PCR产物进行延伸反应,接着酶消化,得到的产物进行毛...

Houttuynoid E在扩血管药物中的应用

本发明提高Houttuynoid?E在制备扩血管药物中的应用,所述的Houttuynoid?E在制备降低血压、抗心绞痛等血管疾病药物中的应用。本发明涉及的Houttuynoid?E在制备扩血管药物中的用途属于首次公开,由于骨架类型属于全新的骨架类型,其扩血管活性强得意想不到,不存在由其他化合物给出任何启示的可能,具备突出的实质性特点,同时用于扩血管显然具有显著的进步。

检测肺癌治疗耐药及毒副作用相关基因多态性的方法及试剂盒

本发明公开了一种检测肺癌治疗耐药及毒副作用相关基因多态性的方法及试剂盒。该方法包括如下步骤:设计扩增肺癌三个相关基因的扩增引物,接着将扩增引物配成引物混合液,进行多重PCR扩增,获得PCR产物;将PCR产物进行毛细管电泳,电泳结果用GeneMapper4.1分析,判读结果。依据该方法设计得到的试剂盒,含有如SEQ?ID?NO.1~6所示的引物序列。本发明提供的方法和试剂盒具有如下优点:通量高,一次单管同时检测三个基因的多态性;步骤简单,...

口支撑部件与口角撑开装置及口角撑开方法

本发明公开了一种支撑部件与口角撑开装置及口角撑开方法,支撑部件包括连接部及两个支撑臂,两个支撑臂分别连接于连接部的两侧,且两个支撑臂的端部朝咬合部同一个方向弯曲,使得连接部及两个支撑臂呈U形。一种口角撑开装置,包括支撑部件、咬口部件;咬口部件具有固定元件,所述固定元件具有咬合部及呼吸通孔,所述固定元件具有两个朝同一个方向弯曲的延伸边,两个所述延伸边及固定元件的构成匹配于牙齿的U字形;所述支撑部件的连接部连接于所述固定元件,两个所述支撑臂...

基于MassARRAY质谱平台Iplex分析的肺癌基因谱检测方法及试剂盒与应用

本发明公开一种基于MassARRAY质谱平台Iplex分析的肺癌基因谱检测方法及试剂盒与应用。该方法能检测肺癌13种驱动和耐药相关基因的99种热点变异位点,通过使用如SEQ ID NO.1~198所示的扩增引物进行扩增反应,接着消化反应,再使用如SEQ ID NO.199~297所示的延伸引物进行延伸反应,得到的产物进行MassARRAY质谱平台Iplex分析。依据该方法设计得到一款检测试剂盒,其具有如下优点:紧跟肺癌诊治国际前沿,考虑...

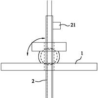
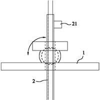
一种用于悬浮细胞快速换液的移液枪头

本发明是一种用于悬浮细胞快速换液的移液枪头,包括有枪头本体(1)、吸头(2)、移液枪接口(3),其中吸头(2)装设在枪头本体(1)的一端,移液枪接口(3)装设在枪头本体(1)的另一端,吸头(2)的端面为弧形,吸头(2)内装设有滤芯(21)。本发明采用带滤芯的结构,在吸取培养液的过程中滤芯可以阻挡细胞被吸走,使细胞留在培养的容器中,此外,滤芯设有的孔径小于一般悬浮细胞的孔径,防止细胞被滤过,另外,为了避免细胞堵塞及黏附过滤孔,在滤孔中设计...

Houttuynoid B在制备治疗或预防慢性心衰的药物中的应用

本发明提供了Houttuynoid B在制备治疗或预防慢性心衰的药物中的应用,具体地提出了Houttuynoid B对急、慢性心力衰竭的治疗作用。本发明涉及的Houttuynoid B在制备治疗慢性心衰中的用途属于首次公开,由于骨架类型属于全新的骨架类型,而且其治疗慢性心衰的活性强得意想不到,不存在由其他化合物给出任何启示的可能,具备突出的实质性特点,同时用于治疗慢性心衰显然具有显著的进步。

Houttuynoid E在制备扩血管药物中的应用

本发明提高Houttuynoid E在制备扩血管药物中的应用,所述的Houttuynoid E在制备降低血压、抗心绞痛等血管疾病药物中的应用。本发明涉及的Houttuynoid E在制备扩血管药物中的用途属于首次公开,由于骨架类型属于全新的骨架类型,其扩血管活性强得意想不到,不存在由其他化合物给出任何启示的可能,具备突出的实质性特点,同时用于扩血管显然具有显著的进步。

Houttuynoid B在制备治疗心肌缺血药物中的应用

本发明提供了Houttuynoid B在制备治疗或者预防心肌缺血药物中的应用。本发明涉及的Houttuynoid B在制备抗心肌缺血药物中的用途属于首次公开,由于骨架类型属于全新的骨架类型,而且其对于心肌缺血的抑制活性强得意想不到,不存在由其他化合物给出任何启示的可能,具备突出的实质性特点,同时用于抗心肌缺血显然具有显著的进步。

Houttuynoid D在制备治疗或预防急性心衰的药物中的应用

本发明提供了Houttuynoid D在制备治疗或预防心衰的药物中的应用。本发明涉及的Houttuynoid D在制备治疗急性心衰药物中的用途属于首次公开,由于骨架类型属于全新的骨架类型,而且其治疗急性心衰的活性强得意想不到,不存在由其他化合物给出任何启示的可能,具备突出的实质性特点,同时用于治疗急性心衰显然具有显著的进步。

Chukrasone A在制备治疗心肌缺血药物中的应用

本发明提供了Chukrasone A在制备治疗或者预防心肌缺血药物中的应用。本发明涉及的Chukrasone A在制备抗心肌缺血药物中的用途属于首次公开,由于骨架类型属于全新的骨架类型,而且其对于心肌缺血的抑制活性强得意想不到,不存在由其他化合物给出任何启示的可能,具备突出的实质性特点,同时用于抗心肌缺血显然具有显著的进步。

基于MassARRAY质谱平台Iplex分析的肺癌基因谱检测试剂盒

本发明公开一种基于MassARRAY质谱平台Iplex分析的肺癌基因谱检测方法及试剂盒与应用。该方法能检测肺癌13种驱动和耐药相关基因的99种热点变异位点,通过使用如SEQ ID NO.1~198所示的扩增引物进行扩增反应,接着消化反应,再使用如SEQ ID NO.199~297所示的延伸引物进行延伸反应,得到的产物进行MassARRAY质谱平台Iplex分析。依据该方法设计得到一款检测试剂盒,其具有如下优点:紧跟肺癌诊治国际前沿,考虑...

一种用于治疗外感发热的中药组合物

本发明公开了一种用于治疗外感发热的中药组合物,由下述重量份的组分组成:薄荷3-12,毛冬青10-35,柴胡5-10,青蒿5-25,猫爪草10-30,僵蚕5-12,蝉蜕5-12,鱼腥草10-35,前胡5-12,甘草2.5-10。本发明的各组分,按照中医理论君臣佐使组方,具有散风清热解毒功效的薄荷、毛冬青为君药,薄荷散风清热利咽解热、毛冬青清热解毒两药同为君。柴胡疏散退热,与猫爪草、鱼腥草解毒散热三药共为臣。蝉蜕加僵蚕即升降散,蝉蜕疏散风热...

一种微创手术剪刀

本实用新型公开了一种微创手术剪刀,包括套管、剪刀和手持部,套管上设有弯折,套管通过弯折形成互成夹角的两段,剪刀包括两片中部通过第一枢轴连接的刀片,剪刀通过第一枢轴安装在套管的远端,剪刀具有伸出套管远端的刀头和嵌入套管内的刀柄,穿过套管设有与刀柄连接的牵引线,手持部上设有可张拉牵引线以使剪刀的刀头完成剪切动作的牵引机构。本实用新型通过上述结构可实现心外科手术中的微创手术操作。为了避免因手持部较大幅度的变化,而使套管挤压患者胸壁孔洞边缘处,...

一种微创手术镊子

本实用新型公开了一种微创手术镊子,包括套管、镊子和手持部,套管上设有弯折,套管通过弯折形成互成夹角的两段,镊子包括两片中部通过第一枢轴连接的夹片,镊子通过第一枢轴安装在套管的远端,镊子具有伸出套管远端的镊头和嵌入套管内的镊子柄,两片夹片在镊头上均设有咬合面,咬合面具有细条齿,穿过套管设有与镊子柄连接的牵引线,手持部上设有可张拉牵引线以使镊子的镊头完成剪切动作的牵引机构。本实用新型可实现微创手术操作。为了避免因手持部较大幅度的变化,而使套...

一种心房微创手术拉钩

本实用新型公开了一种心房微创手术拉钩,包括固定架、套管、可穿套在套管内的内杆和可装在内杆下端的拉钩叶片,固定架内具有供套管穿过的过孔,拉钩叶片包括连接座和由连接座向一侧伸出的叶片部,沿叶片部设有若干弯折,叶片部通过弯折形成向上翘起以抱住心房的勾状,连接座上设有螺纹孔,内杆的下端设有可旋入螺纹孔内的外螺纹。术中使固定架的过孔正对胸壁打开的小孔洞,将套管和内杆通过固定架深入到胸腔内,将拉钩叶片送入胸腔,并固定于已经深入的内杆的下缘。拉钩叶片...

一种微创手术拉钩装置

本实用新型公开了一种微创手术拉钩装置,包括固定架、套管、可穿套在套管内的内杆和可装在内杆下端的拉钩,固定架内具有供套管穿过的过孔,拉钩包括连接座和由连接座向一侧伸出的若干拉钩齿,各拉钩齿均弯曲形成向上翘起以抱住心房的勾状,各拉钩齿在连接座上排成一列,相邻的拉钩齿间留有间隙,整个拉钩呈钉耙状,连接座上设有螺纹孔,内杆的下端设有可旋入螺纹孔内的外螺纹。术中使固定架的过孔正对胸壁打开的小孔洞,将套管和内杆通过固定架深入到胸腔内,将拉钩送入胸腔...

分隔膜输液接头

本发明涉及一种分隔膜输液接头,其第一连接部内设有第一隔膜,第二连接部设有第二隔膜,且当第一连接部向第二连接部套进时,第一隔膜与第二隔膜能够配合构成完全封闭该分隔膜输液接头的输液管道的隔膜,从而在输液结束时,操作者只需常规使用冲管液后拔出外接输液接头,然后将第一连接部向第二连接部套进,使第一隔膜与第二隔膜配合完全封闭输液管道,此时,在该分隔膜输液接头内会自动产生正压,此时不必再使用封管液正压封管及使用止血夹,就可以有效消除外接输液接头拔出...

一种小鼠爬杆实验装置

本实用新型公开一种小鼠爬杆实验装置,包括底座、连接装置和平衡杆,平衡杆通过连接装置与底座连接,底座的正面设有平衡杆收纳单元,底座的背面设有辅助实验平台收纳单元及磁性收纳盒,底座上位于平衡杆外侧的一侧面上设有辅助实验平台连接槽;当小鼠爬杆实验装置处于收纳状态时,平衡杆置于平衡杆收纳单元内,辅助实验平台置于辅助实验平台收纳单元内,调整并固定平衡杆工作角度用的金属固件置于磁性收纳盒中。本小鼠爬杆实验装置携带方便、清理消毒方便且可有效减少实验误...