样品
成果详情
| 项目简介 | |||||
|---|---|---|---|---|---|
| 技术简介: | |||||
| 专利类型: | 实用新型 | 专利申请号: | CN201520922368.3 | 公开号: | CN205268204U |
| 专利权人: | 广东省心血管病研究所;广东省人民医院 | 发明设计人: | 庄建;朱平;郭惠明;吴志超;黄焕雷;谢斌;张晓慎;李嘉欣;李佳妮;朱烁基 | ||
| 所属领域: | |||||
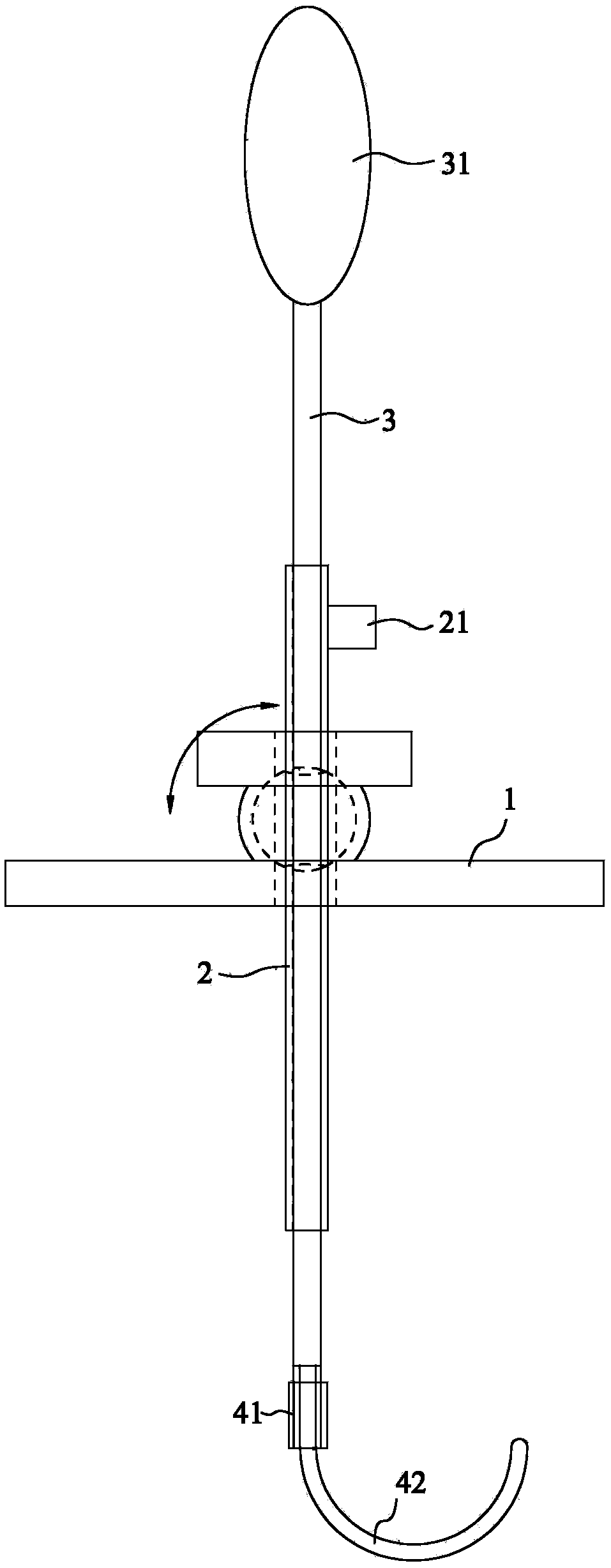
| 摘要: | 本实用新型公开了一种微创手术拉钩装置,包括固定架、套管、可穿套在套管内的内杆和可装在内杆下端的拉钩,固定架内具有供套管穿过的过孔,拉钩包括连接座和由连接座向一侧伸出的若干拉钩齿,各拉钩齿均弯曲形成向上翘起以抱住心房的勾状,各拉钩齿在连接座上排成一列,相邻的拉钩齿间留有间隙,整个拉钩呈钉耙状,连接座上设有螺纹孔,内杆的下端设有可旋入螺纹孔内的外螺纹。术中使固定架的过孔正对胸壁打开的小孔洞,将套管和内杆通过固定架深入到胸腔内,将拉钩送入胸腔,固定于内杆的下缘。拉钩通过内杆到达需要牵拉的部位。本实用新型采用若干弯曲的拉钩齿,由于在几个方向固定心房壁,固定效果好,不易滑脱,心房牵拉确实,便于手术操作。 | ||||
| 补充信息 | |||||
| 转让方式: | 成熟度: | 预估价值: | |||
| 市场前景: | |||||