样品
成果详情
| 项目简介 | |||||
|---|---|---|---|---|---|
| 技术简介: | |||||
| 专利类型: | 实用新型 | 专利申请号: | CN201620666690.9 | 公开号: | CN205727589U |
| 专利权人: | 广东省人民医院 | 发明设计人: | 王丽娟;高玉元;张玉虎;马桂贤;聂坤;代成波;张雄;王丽敏;冯淑君;赵洁皓;王硕;谢泗芬 | ||
| 所属领域: | |||||
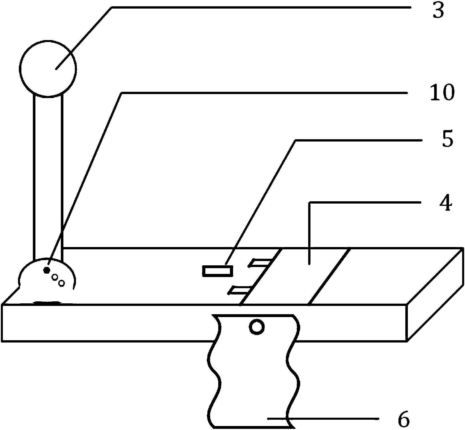
| 摘要: | 本实用新型公开一种小鼠爬杆实验装置,包括底座、连接装置和平衡杆,平衡杆通过连接装置与底座连接,底座的正面设有平衡杆收纳单元,底座的背面设有辅助实验平台收纳单元及磁性收纳盒,底座上位于平衡杆外侧的一侧面上设有辅助实验平台连接槽;当小鼠爬杆实验装置处于收纳状态时,平衡杆置于平衡杆收纳单元内,辅助实验平台置于辅助实验平台收纳单元内,调整并固定平衡杆工作角度用的金属固件置于磁性收纳盒中。本小鼠爬杆实验装置携带方便、清理消毒方便且可有效减少实验误差。 | ||||
| 补充信息 | |||||
| 转让方式: | 成熟度: | 预估价值: | |||
| 市场前景: | |||||