样品
成果详情
| 项目简介 | |||||
|---|---|---|---|---|---|
| 技术简介: | |||||
| 专利类型: | 实用新型 | 专利申请号: | CN201520925048.3 | 公开号: | CN205268205U |
| 专利权人: | 广东省心血管病研究所;广东省人民医院 | 发明设计人: | 朱平;郭惠明;吴志超;庄建;陈寄梅;郑少忆;卢聪;黄焕雷;谢斌;张晓慎;李嘉欣;李佳妮;朱烁基 | ||
| 所属领域: | |||||
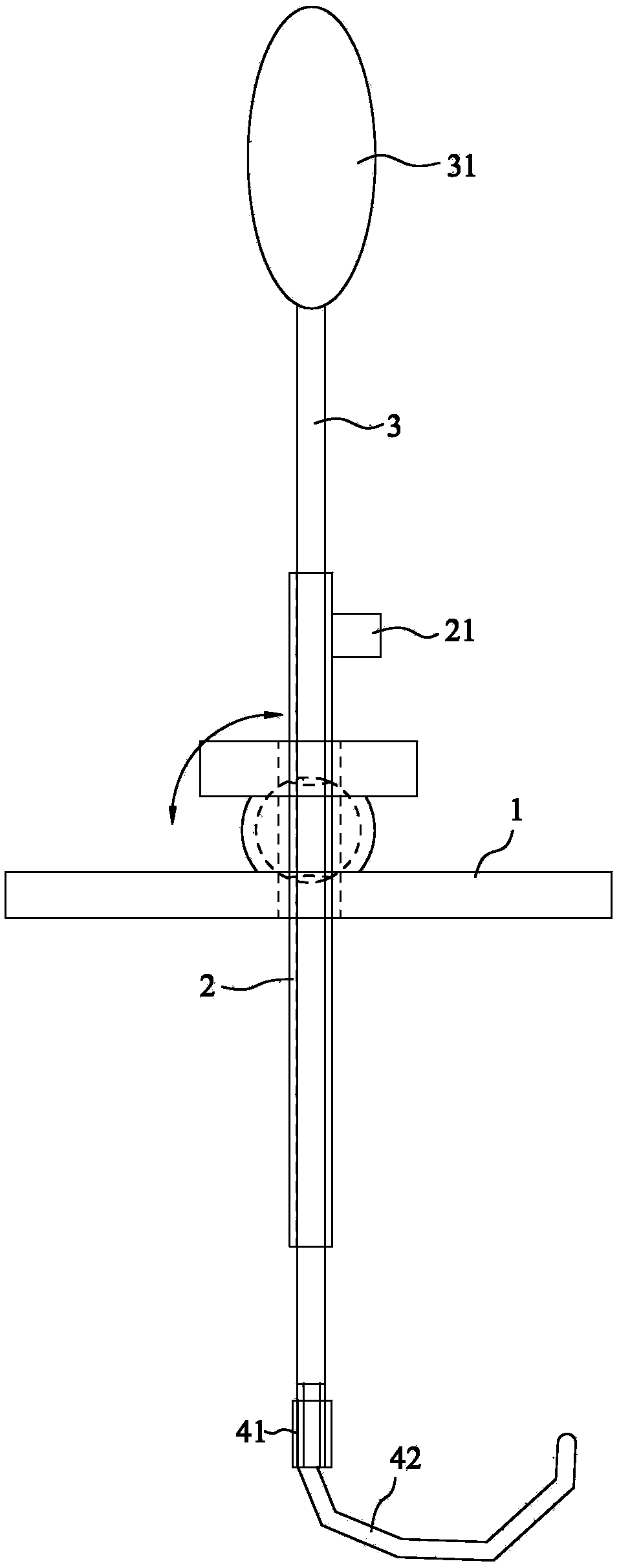
| 摘要: | 本实用新型公开了一种心房微创手术拉钩,包括固定架、套管、可穿套在套管内的内杆和可装在内杆下端的拉钩叶片,固定架内具有供套管穿过的过孔,拉钩叶片包括连接座和由连接座向一侧伸出的叶片部,沿叶片部设有若干弯折,叶片部通过弯折形成向上翘起以抱住心房的勾状,连接座上设有螺纹孔,内杆的下端设有可旋入螺纹孔内的外螺纹。术中使固定架的过孔正对胸壁打开的小孔洞,将套管和内杆通过固定架深入到胸腔内,将拉钩叶片送入胸腔,并固定于已经深入的内杆的下缘。拉钩叶片通过内杆到达需要牵拉的部位。本实用新型采用具有若干弯折的拉钩叶片,由于在几个方向固定心房壁,所以固定效果确实,不易滑脱,心房牵拉确实,便于手术操作。 | ||||
| 补充信息 | |||||
| 转让方式: | 成熟度: | 预估价值: | |||
| 市场前景: | |||||