样品
成果详情
| 项目简介 | |||||
|---|---|---|---|---|---|
| 技术简介: | |||||
| 专利类型: | 实用新型 | 专利申请号: | CN201520197035.9 | 公开号: | CN204562334U |
| 专利权人: | 南方医科大学南方医院 | 发明设计人: | 陈强;陈伶俐 | ||
| 所属领域: | |||||
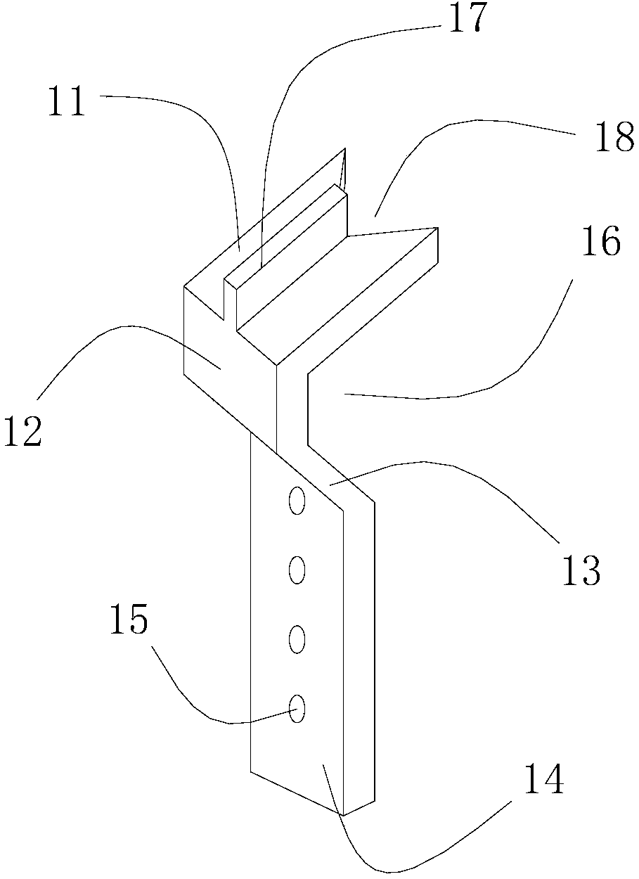
| 摘要: | 本实用新型公开了一种髋关节脱位截骨手术用配套工具,其包括角度板、角度定位器和开槽器,角度板由定位板、靠板、侧板和设有定位孔的竖板依次连接而成,侧板向上倾斜且与竖板的倾斜角度为α,靠板与竖板平行且分别与定位板、侧板均构成倾斜角度β,靠板与定位板、侧板之间形成用于卡紧股骨头的定位槽,定位板还设有凸棱和刀口;角度定位器包括平板、设有刻度尺的量角器、设有卡件的指针;开槽器包括相互垂直的刀刃和压片。本装置的角度定位器能稳定显示截骨手术所需的角度,顶板的三角形刀口可方便打入,凸棱能防止角度板的移动,靠板的设置可避免截骨角度过小导致的股骨颈骨折,解决了髋关节脱位截骨手术的难题,纠正儿童髋关节脱位后的畸形。 | ||||
| 补充信息 | |||||
| 转让方式: | 成熟度: | 预估价值: | |||
| 市场前景: | |||||