样品
成果详情
| 项目简介 | |||||
|---|---|---|---|---|---|
| 技术简介: | |||||
| 专利类型: | 发明 | 专利申请号: | CN202210684163.0 | 公开号: | CN114873067A |
| 专利权人: | 南方医科大学南方医院 | 发明设计人: | 杨云;周丹;李靓;蔡丽丹 | ||
| 所属领域: | |||||
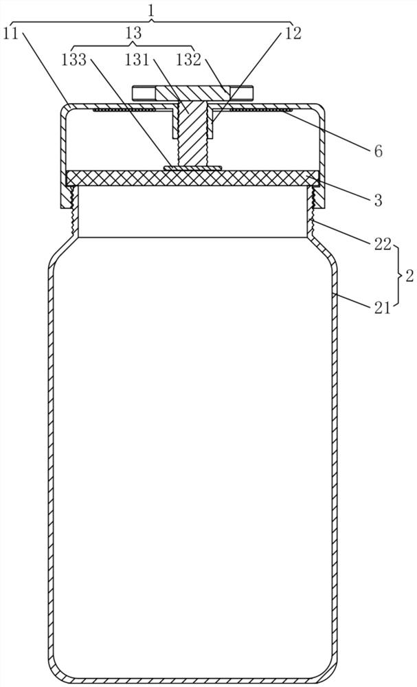
| 摘要: | 本发明公开了一种水银体温计消毒装置,包括瓶盖及装有消毒液的瓶身,所述瓶盖内设置有能够将其内部空间分隔成上下两部分的卡板,所述卡板上开设有至少一个用于卡住固定水银温度计的卡孔且该卡板上开设有至少一个液流孔。本发明具有使用方便、消毒全面的优点。 | ||||
| 补充信息 | |||||
| 转让方式: | 成熟度: | 预估价值: | |||
| 市场前景: | |||||