样品
成果详情
| 项目简介 | |||||
|---|---|---|---|---|---|
| 技术简介: | |||||
| 专利类型: | 实用新型 | 专利申请号: | CN202222077516.9 | 公开号: | CN218774150U |
| 专利权人: | 南方医科大学南方医院 | 发明设计人: | 肖芦山;崔浩;曾琳;王家仁;李燕 | ||
| 所属领域: | |||||
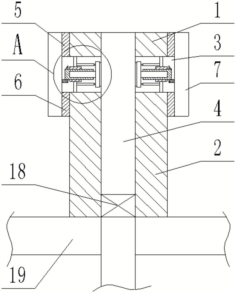
| 摘要: | 本实用新型公开一种肝癌化疗的皮下植入装置,包括:主体机构,主体机构包括上套筒和下套筒,上套筒和下套筒同轴线设置且之间具有间隙形成挤压腔,上套筒和下套筒内穿设有导管,导管的外壁分别与上套筒的内壁和下套筒的内壁固接;驱动机构,驱动机构包括转动组件和挤压组件,转动组件包覆上套筒以及下套筒的顶端,且转动组件与上套筒和下套筒转动连接;挤压组件具体为两个,挤压组件包括挤压件,挤压件滑动设置在挤压腔内,且两个挤压件沿导管对称设置,挤压件一端与转动组件传动连接,另一端与导管外壁抵接,本实用新型操作简单便捷,提高了患者在进行皮下植入灌注治疗过程中的安全性。 | ||||
| 补充信息 | |||||
| 转让方式: | 成熟度: | 预估价值: | |||
| 市场前景: | |||||