样品
成果详情
| 项目简介 | |||||
|---|---|---|---|---|---|
| 技术简介: | |||||
| 专利类型: | 发明 | 专利申请号: | CN202311848094.3 | 公开号: | CN117494013A |
| 专利权人: | 南方医科大学南方医院;南方医科大学 | 发明设计人: | 王兆源;缪吉昌;肖中举;纪晓宏 | ||
| 所属领域: | |||||
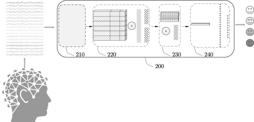
| 摘要: | 一种多尺度权值共享卷积神经网络及其脑电情感识别方法,其中多尺度权值共享卷积神经网络设置有:多尺度特征表示与权值共享卷积的动态时间层用于从脑电信号中提取不同尺度的时频域特征;多尺度特征表示与权值共享卷积的非对称空间层根据情感脑功能拓扑结构,在空间维度下提取所述时频域特征的多尺度特征,然后将所述多尺度特征作为情感在对应脑功能区的特征表达;特征整合层融合所述多尺度特征并进行高级特征抽取、整合;分类层输出情感归属于各个种类的概率。本发明提升了模型的泛化能力以及在跨被试情感分类的准确率。本发明的预处理过程简单,而且深度学习模型智能,能自动学习并提取样本高级抽象特征,避免大量繁琐的人工特征选择与特征降维,所以本发明具备端对端特征学习与情感识别的优势。 | ||||
| 补充信息 | |||||
| 转让方式: | 成熟度: | 预估价值: | |||
| 市场前景: | |||||