样品
成果详情
| 项目简介 | |||||
|---|---|---|---|---|---|
| 技术简介: | |||||
| 专利类型: | 发明 | 专利申请号: | CN202510571604.X | 公开号: | CN120078983A |
| 专利权人: | 南方医科大学南方医院 | 发明设计人: | 李梗;张萍;余青梅;陈娜;曾苗 | ||
| 所属领域: | |||||
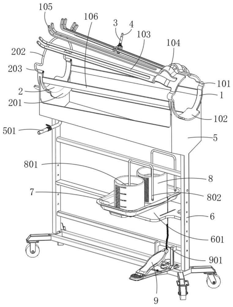
| 摘要: | 本发明提供一种骨科创伤用伤口清洗护理设备,属于医疗器械技术领域。包括支架,支架的顶部固定连接有积液罐,支架的中间位置处固定连接有安装板;定位组件用于对患者的小腿进行固定,定位组件与积液罐相连接;清理机构用于对患者的伤口进行冲洗清理,清理机构与支架相连接。本发明通过设置定位组件和清理机构,使得操作人员可以单人操作对患者的伤口进行清洗处理,在节省人力的同时提高了伤口清理的效率,而且清理过程中可以对清理液进行合理的利用,避免产生浪费;当伤口清理完毕后,定位组件和清理机构可以对患者伤口处残留的液体进行清除干燥,提高了伤口清理流程的效率,避免清理时间过长对患者造成不适。 | ||||
| 补充信息 | |||||
| 转让方式: | 成熟度: | 预估价值: | |||
| 市场前景: | |||||