样品
成果详情
| 项目简介 | |||||
|---|---|---|---|---|---|
| 技术简介: | |||||
| 专利类型: | 实用新型 | 专利申请号: | CN201920342508.8 | 公开号: | CN209719616U |
| 专利权人: | 南方医科大学南方医院 | 发明设计人: | 丁静;廖卫华;吴宏丽;李园芳 | ||
| 所属领域: | |||||
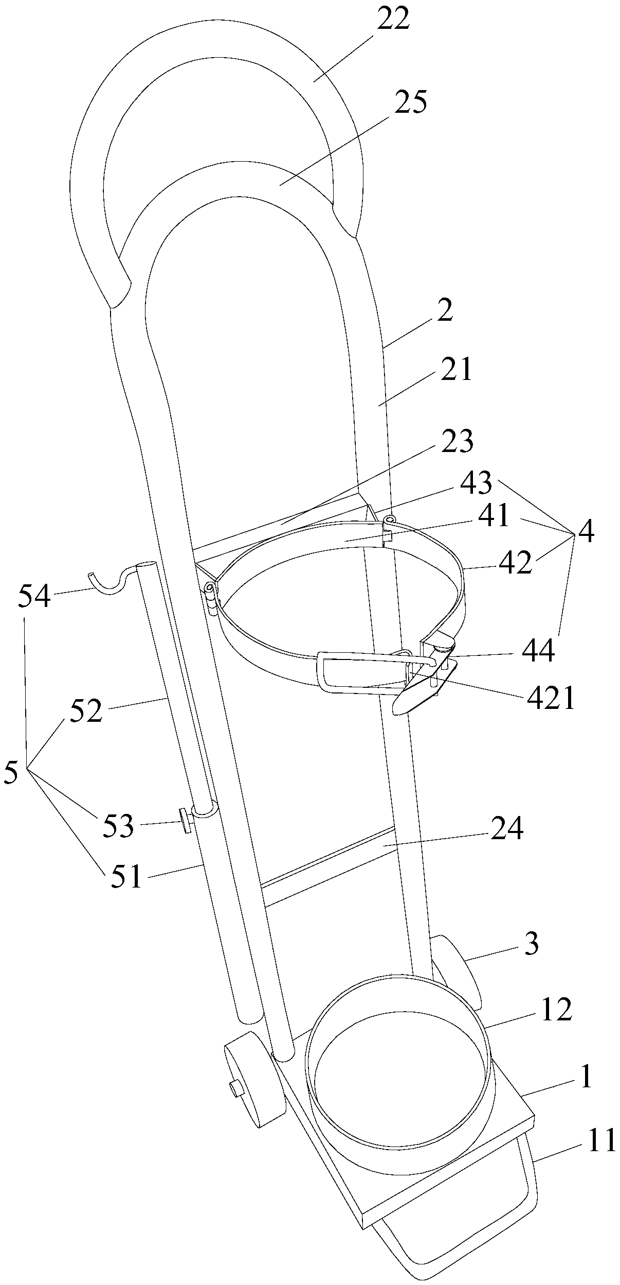
| 摘要: | 本实用新型公开了一种新生儿外出检查用氧气罐运输车,包括底座和立式车架,底座装有车轮,立式车架包括两条平行的立柱,两条立柱的下端固定在底座上,两条立柱的上端连接有把手,两条立柱的中部安装有氧气罐固定件,底座上还安装有位于两条立柱后的氧气管挂杆,氧气罐固定件包括一个弧形固定部和两个弧形活动部,弧形固定部的两端分别固定在两条立柱上,弧形固定部的两端还分别与两个弧形活动部的一端铰接连接,两个弧形活动部的另一端通过搭扣可拆卸连接,两个弧形活动部通过搭扣连接后与弧形固定部构成用于固定氧气罐的圆形固定环。本实用新型的新生儿外出检查用氧气罐运输车避免来回搬动氧气罐,节约了医护人员的宝贵时间。 | ||||
| 补充信息 | |||||
| 转让方式: | 成熟度: | 预估价值: | |||
| 市场前景: | |||||