样品
成果详情
| 项目简介 | |||||
|---|---|---|---|---|---|
| 技术简介: | |||||
| 专利类型: | 实用新型 | 专利申请号: | CN202021922762.4 | 公开号: | CN213406061U |
| 专利权人: | 南方医科大学南方医院 | 发明设计人: | 张斯媚;廖卫华;邱娟 | ||
| 所属领域: | |||||
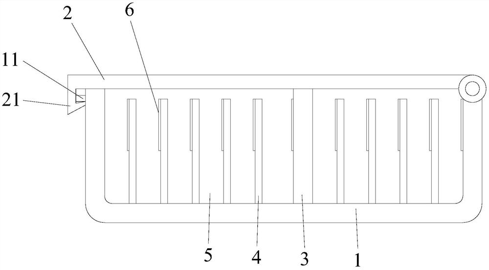
| 摘要: | 本实用新型公开了一种脑电图监测仪电极线梳理装置,包括前后两边敞口的U型盒体及盖在U型盒体上的盒盖,盒盖的右边与U型盒体的右边铰接连接,盒盖的左边与U型盒体的左边扣合连接,U型盒体的底壁中间通过竖向的隔板一分隔为左右两个槽,左右两个槽的底壁均分别朝上延伸形成多个间隔分布的隔板二,U型盒体的侧壁与相邻的隔板二之间、每相邻的两个隔板二之间、隔板一与相邻的隔板二之间均有电极线卡槽,隔板一、隔板二和U型盒体右侧壁的左侧面均贴有标签贴。本实用新型的脑电图监测仪电极线梳理装置可缩短操作时间和减少护理工作量。 | ||||
| 补充信息 | |||||
| 转让方式: | 成熟度: | 预估价值: | |||
| 市场前景: | |||||