样品
成果详情
| 项目简介 | |||||
|---|---|---|---|---|---|
| 技术简介: | |||||
| 专利类型: | 实用新型 | 专利申请号: | CN202022145972.3 | 公开号: | CN213553238U |
| 专利权人: | 南方医科大学南方医院 | 发明设计人: | 孙琼菲;黄榕;陈泽纯;陈宝梅;曾嘉 | ||
| 所属领域: | |||||
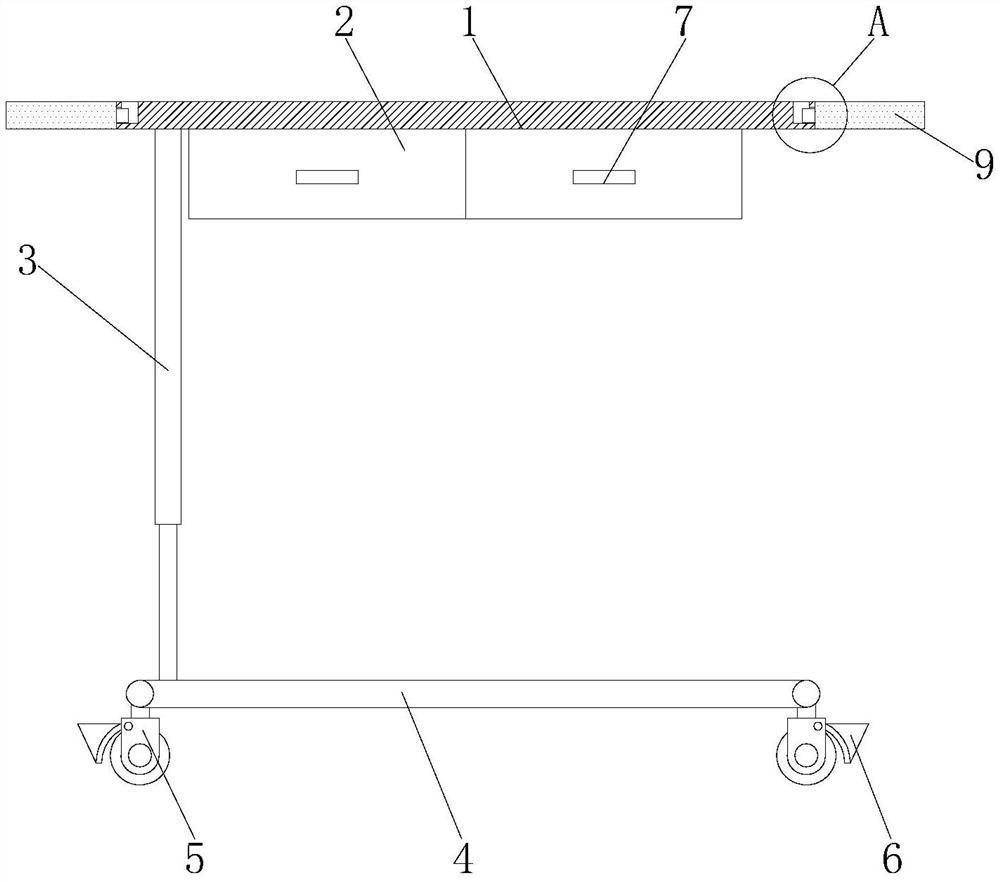
| 摘要: | 本实用新型公开了一种床尾收纳桌,包括桌面,所述桌面底部的两侧均安装有抽屉,所述桌面底部的左侧固定连接有升降杆,所述升降杆的底部固定连接有支撑架,所述支撑架底部的四角均通过转轴活动连接有万向轮,所述桌面的两侧均活动连接有支撑板,所述桌面两侧的前侧和后侧均开设有第一卡槽,所述桌面顶部的四角均开设有第二卡槽。本实用新型解决了现有的床尾收纳桌无法对听诊器、输液夹和仪器使用登记本等进行收纳放置,导致病床不整洁,使听诊器到处悬挂,容易造成器械污染,同时高度不能进行调节,不适用于不同身高人群的使用需求,并且不能增加使用面积和对物品进行阻挡,降低了使用效果的问题。 | ||||
| 补充信息 | |||||
| 转让方式: | 成熟度: | 预估价值: | |||
| 市场前景: | |||||