样品
成果详情
| 项目简介 | |||||
|---|---|---|---|---|---|
| 技术简介: | |||||
| 专利类型: | 实用新型 | 专利申请号: | CN202023248802.4 | 公开号: | CN214511231U |
| 专利权人: | 南方医科大学深圳医院 | 发明设计人: | 龚伟;胡威;李夏西 | ||
| 所属领域: | |||||
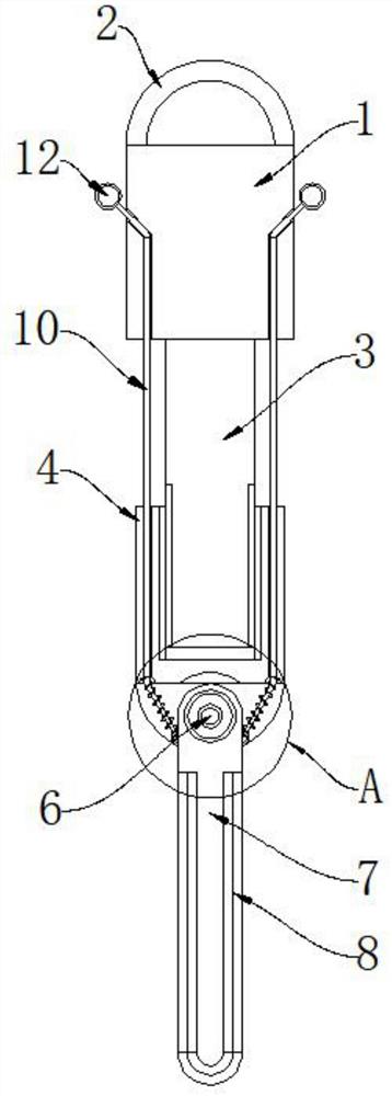
| 摘要: | 本实用新型公开了一种用于磁锚定腔镜手术牵拉暴露的磁锚定牵拉器械,包括圆柱,所述圆柱的顶端固定连接有挂环,所述圆柱的底端固定连接有连接柱,所述连接柱的表面螺纹连接有底柱,所述底柱的底端开设有横槽,所述横槽的内前壁固定连接有阻尼转轴,所述阻尼转轴的下表面固定连接有活动杆,所述活动杆的表面嵌设有磁片层,所述活动杆的表面固定连接有半圆环,所述半圆环的表面固定连接有拉线,所述拉线的表面套接有弹簧。该用于磁锚定腔镜手术牵拉暴露的磁锚定牵拉器械,通过设置底柱、横槽、阻尼转轴、活动杆、磁片层、半圆环、拉线、弹簧、拉环和圆孔,从而达到该用于磁锚定腔镜手术牵拉暴露的磁锚定牵拉器械具有便于牵引的效果。 | ||||
| 补充信息 | |||||
| 转让方式: | 成熟度: | 预估价值: | |||
| 市场前景: | |||||