样品
成果详情
| 项目简介 | |||||
|---|---|---|---|---|---|
| 技术简介: | |||||
| 专利类型: | 实用新型 | 专利申请号: | CN202020447708.2 | 公开号: | CN211810917U |
| 专利权人: | 南方医科大学珠江医院 | 发明设计人: | 张玉娴 | ||
| 所属领域: | |||||
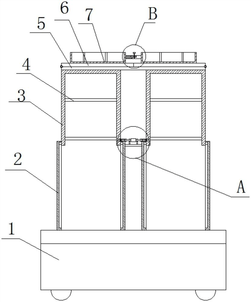
| 摘要: | 本实用新型属于医疗器材技术领域,尤其是一种智能传输药物的设备,针对现有的各个病房的药物需要护士进行输送,极大的增加了护士的劳动强度的问题,现提出如下方案,其包括行走装置,所述行走装置的顶部固定设置有安装板,安装板的顶部固定设有两个水平对称设置的支架,两个支架上均竖直滑动设置有分类柜,两个分类柜内均固定设置有多个隔板,两个分类柜的顶部固定设置有同一个水平固定板,本实用新型可以对药物进行输送,降低了护士的劳动强度,同时可以对不同体积的药物进行输送,适用范围广,且能够对两个折叠板进行折叠,同时可以将两个分类柜收回,减少占用空间,利于自身的存放。 | ||||
| 补充信息 | |||||
| 转让方式: | 成熟度: | 预估价值: | |||
| 市场前景: | |||||