样品
成果详情
| 项目简介 | |||||
|---|---|---|---|---|---|
| 技术简介: | |||||
| 专利类型: | 实用新型 | 专利申请号: | CN202323244638.3 | 公开号: | CN221672582U |
| 专利权人: | 南方医科大学珠江医院 | 发明设计人: | 缪彩娥;甘敏 | ||
| 所属领域: | |||||
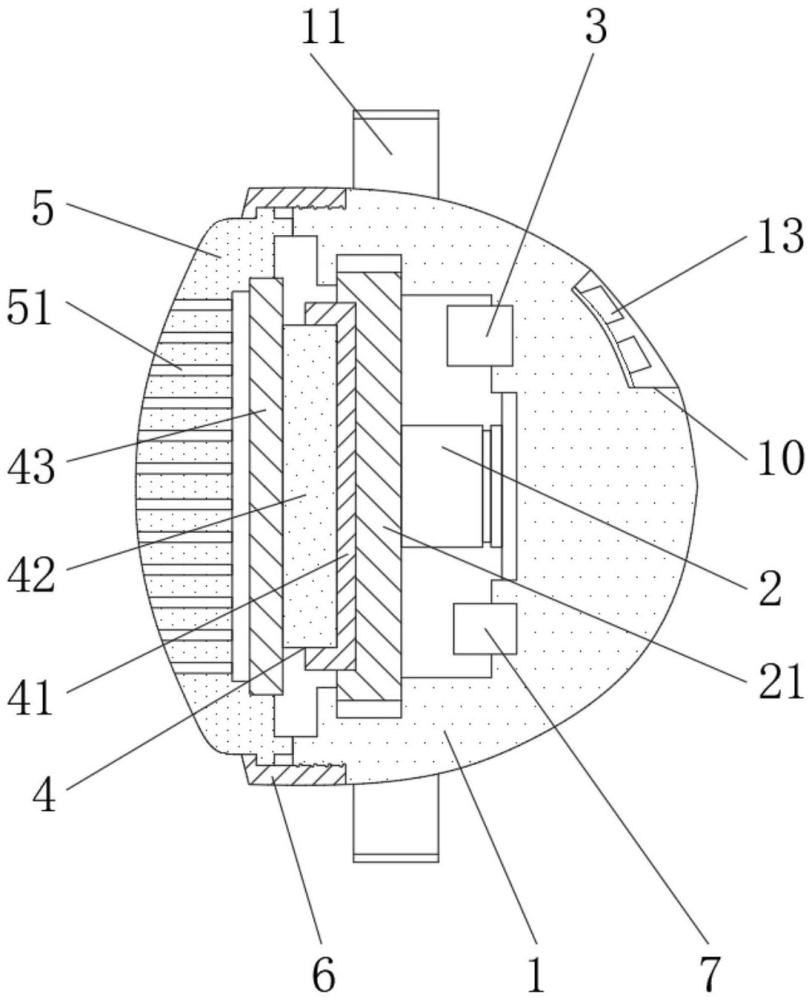
| 摘要: | 本实用新型公开了一种排痰治疗仪。一种排痰治疗仪,包括治疗仪本体,在所述治疗仪本体的内部设有振动器和处理器,在所述振动器的前端设有安装座,在所述安装座的前端设有加热组件,在所述加热组件的前端设有能够延伸至治疗仪本体外与患者皮肤接触的带有药物成分的治疗块,在所述治疗仪本体的前端可拆卸装设有能够限制治疗块位移的固定环盖,在所述治疗仪本体的侧面设有指套,在所述治疗仪本体的背面设有显示屏和带按钮的控制面板,所述振动器、加热组件、显示屏、控制面板均与处理器连接在一起。本实用新型有利于实现自动叩背排痰功能,能够起到药物治疗作用并且有利于提高患儿的舒适感。 | ||||
| 补充信息 | |||||
| 转让方式: | 成熟度: | 预估价值: | |||
| 市场前景: | |||||