样品
成果详情
| 项目简介 | |||||
|---|---|---|---|---|---|
| 技术简介: | |||||
| 专利类型: | 实用新型 | 专利申请号: | CN202122262070.2 | 公开号: | CN215688430U |
| 专利权人: | 南方医科大学珠江医院 | 发明设计人: | 钱前 | ||
| 所属领域: | |||||
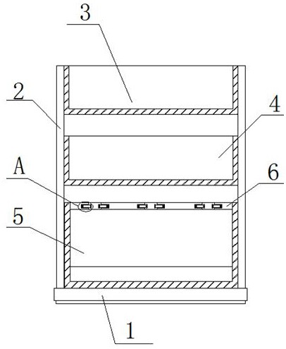
| 摘要: | 本实用新型属于置物架领域,尤其是一种医用置物架,包括底座,所述底座的顶部两侧均固定安装有安装架,两个安装架之间固定安装有第一层架、第二层架和第三层架,且第一层架、第二层架和第三层架从上往下依次设置,所述第三层架的顶部开口位置固定安装有固定板,所述固定板上等距离间隔开设有多个缺口,所述缺口的两侧内壁上均开设有滑动槽,滑动槽内滑动安装有滑动杆,滑动杆的一端延伸至缺口内,且固定安装有橡胶夹持块。本实用新型能充分利用空间,减少对有限操作台面的占用。 | ||||
| 补充信息 | |||||
| 转让方式: | 成熟度: | 预估价值: | |||
| 市场前景: | |||||