样品
成果详情
| 项目简介 | |||||
|---|---|---|---|---|---|
| 技术简介: | |||||
| 专利类型: | 实用新型 | 专利申请号: | CN202220433039.2 | 公开号: | CN216776214U | 
| 专利权人: | 南方医科大学南方医院 | 发明设计人: | 史丽莎;叶桂荣;游丽娟;文艺红 | ||
| 所属领域: | |||||
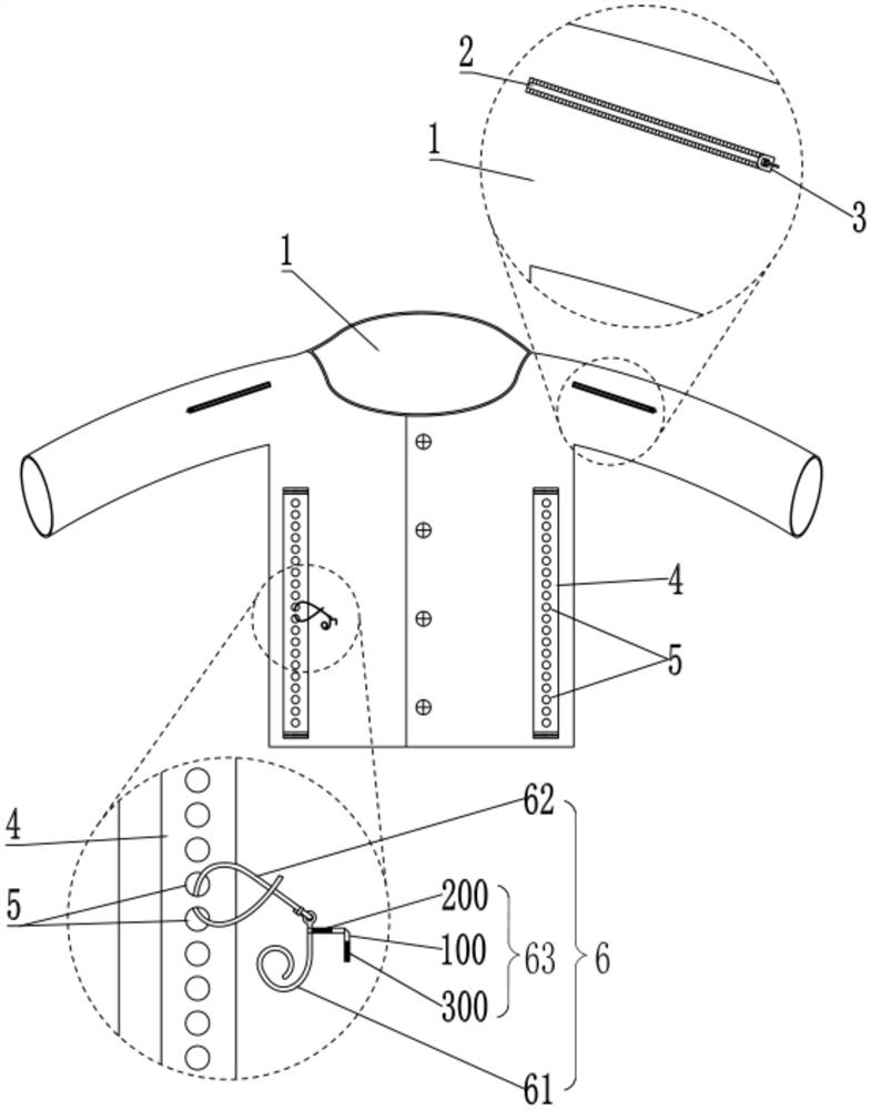
| 摘要: | 本实用新型公开了一种改良的病号服上衣,包括上衣本体;在所述上衣本体的衣袖的上臂部设有开口,在所述开口上设有拉链;还在所述上衣本体的前襟两侧端均设有悬挂布条,其中,所述悬挂布条的两端分别与所述上衣本体的前襟的上端以及下端固定连接,在所述悬挂布条上开设有若干个悬挂通孔,还包括可拆卸穿设在所述悬挂通孔上的悬挂钩结构。本实用新型具有便于患者进行皮下注射操作、具备引流袋或者引流瓶悬挂功能、在悬挂引流袋或者引流瓶时不会造成患者身体损伤的优点。 | ||||
| 补充信息 | |||||
| 转让方式: | 成熟度: | 预估价值: | |||
| 市场前景: | |||||