样品
成果详情
| 项目简介 | |||||
|---|---|---|---|---|---|
| 技术简介: | |||||
| 专利类型: | 实用新型 | 专利申请号: | CN202021776512.4 | 公开号: | CN213250745U |
| 专利权人: | 南方医科大学南方医院 | 发明设计人: | 陈谊;张萍;朱世华 | ||
| 所属领域: | |||||
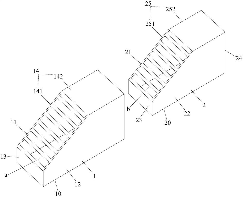
| 摘要: | 本实用新型公开了一种可移动换药托物,包括托盒一和托盒二,托盒一内具有右侧敞口的容腔一,托盒一的顶板一包括斜板一和直板一,托盒二置于容腔一内并且可从容腔一的右侧抽出,托盒二内具有容腔二,托盒二的顶板二包括斜板二和直板二,斜板一与斜板二平行,直板一和直板二平行,斜板一和斜板二均为镂空板。本实用新型的可移动换药托物既便于换药,又减少了人力,不需要人工托抬患者患肢,避免了引起腰部的不适,降低了换药的难度。 | ||||
| 补充信息 | |||||
| 转让方式: | 成熟度: | 预估价值: | |||
| 市场前景: | |||||