样品
成果详情
| 项目简介 | |||||
|---|---|---|---|---|---|
| 技术简介: | |||||
| 专利类型: | 实用新型 | 专利申请号: | CN202120209112.3 | 公开号: | CN215017314U | 
| 专利权人: | 南方医科大学南方医院 | 发明设计人: | 刘晓兰;李园;张彩丽;程艳卉;许万藏;周静;杨荷 | ||
| 所属领域: | |||||
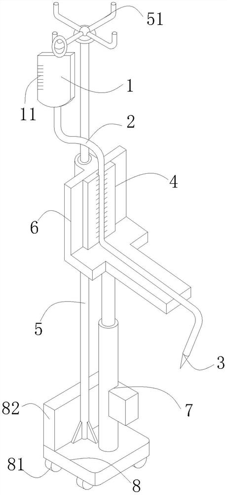
| 摘要: | 本实用新型提供一种中心静脉压测量装置,包括有软袋、测定管、穿刺管、测压板、支撑杆、活动板、伸缩装置和底板,支撑杆垂直固定于底板上端,活动板活动连接与支撑杆上,测压板固定于活动板上,软袋悬挂于支撑杆的顶部,测压管的一端与软袋连通,另一端与穿刺管连通,伸缩装置一端与底板垂直固定,另一端与活动板固定连接;伸缩装置包括有固定杆、活动杆、机箱、传动齿轮、蜗杆和驱动电机,活动杆的一侧开设有多个与传动齿轮相互啮合的凹槽,活动杆套设于固定杆内,机箱固定于固定杆的一侧且与固定杆连通,传动齿轮位于机箱内且与活动杆上的凹槽相对设置,传动齿轮下端设置有与传动齿轮相互啮合的蜗杆,蜗杆的一端连接驱动电机的输出杆。 | ||||
| 补充信息 | |||||
| 转让方式: | 成熟度: | 预估价值: | |||
| 市场前景: | |||||