样品
成果详情
| 项目简介 | |||||
|---|---|---|---|---|---|
| 技术简介: | |||||
| 专利类型: | 实用新型 | 专利申请号: | CN201621287323.4 | 公开号: | CN206289263U |
| 专利权人: | 南方医科大学珠江医院 | 发明设计人: | 李阳;高毅;王高尚;贾志栋;彭青;张志 | ||
| 所属领域: | |||||
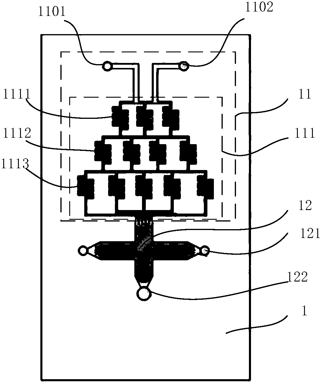
| 摘要: | 本实用新型提供一种体外肝细胞异质性培养装置,包括诱导芯片和与所述诱导芯片相连通的微量注射泵;所述诱导芯片包括用于形成浓度梯度的流体分流通道以及与所述流体分流通道相通的细胞诱导区域;通过本方案可实现体外诱导体外肝细胞异质性分布。 | ||||
| 补充信息 | |||||
| 转让方式: | 成熟度: | 预估价值: | |||
| 市场前景: | |||||