样品
成果详情
| 项目简介 | |||||
|---|---|---|---|---|---|
| 技术简介: | |||||
| 专利类型: | 实用新型 | 专利申请号: | CN201420029079.6 | 公开号: | CN203815544U |
| 专利权人: | 南方医科大学珠江医院 | 发明设计人: | 潘明新;程远;洪合;高毅 | ||
| 所属领域: | |||||
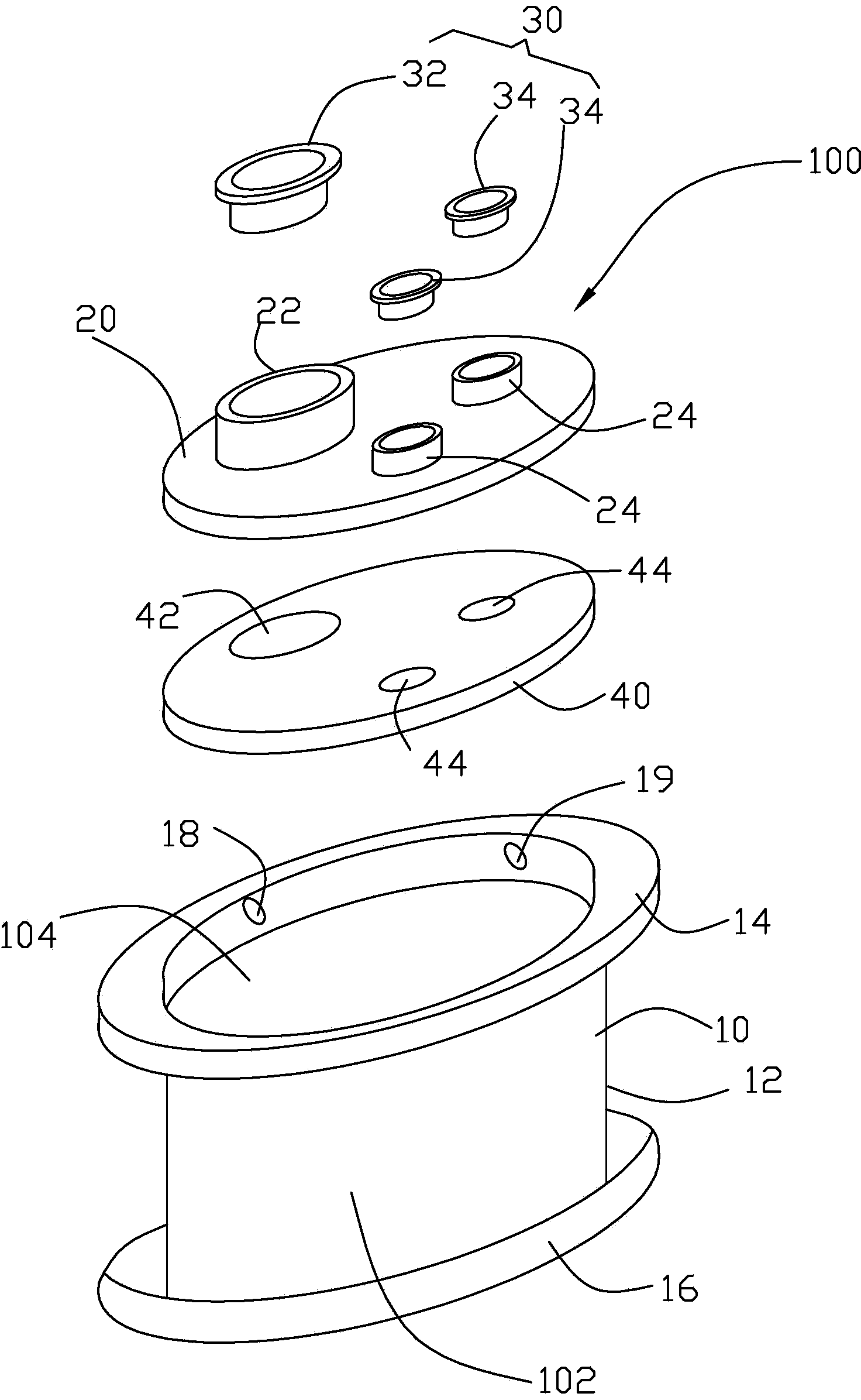
| 摘要: | 一种单孔腹腔镜穿刺器,包括:可伸缩套管、通过密封圈而密封设置在可伸缩套管顶部的顶盖及穿过顶盖的微型套管组件。可伸缩套管包括其内纵向开设柱形孔的柱体、环绕设置在柱体顶部的第一气囊环及环绕设置在柱体底部的第二气囊环;柱形孔内开设进气孔及出气孔;顶盖上开设第一插入孔及两个口径比第一插入孔小的第二插入孔;微型套管组件包括与第一插入孔对应的第一微型套管及与两个第二插入孔对应的第二微型套管;密封圈上开设与第一插入孔对应的第一过孔及与两个第二插入孔对应的第二过孔;第一微型套管伸入第一插入孔穿过第一过孔而进入柱形孔内;第二微型套管伸入对应的第二插入孔穿过对应的第二过孔进入柱形孔内。 | ||||
| 补充信息 | |||||
| 转让方式: | 成熟度: | 预估价值: | |||
| 市场前景: | |||||