样品
成果详情
| 项目简介 | |||||
|---|---|---|---|---|---|
| 技术简介: | |||||
| 专利类型: | 实用新型 | 专利申请号: | CN202021810975.8 | 公开号: | CN213310915U |
| 专利权人: | 南方医科大学南方医院 | 发明设计人: | 李园芳;廖卫华;丁悦;谢邵秀;曾勃;钟琳;张斯媚 | ||
| 所属领域: | |||||
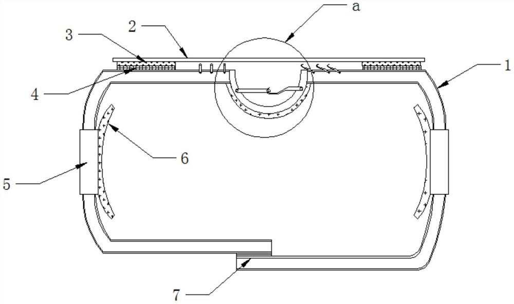
| 摘要: | 本实用新型公开了一种新生儿脐带护理带,属于脐带护理带技术领域,通过依据婴儿肚脐眼的尺寸,通过铰接挂环组件与铰接挂钩组件相互配合调节成相应的尺寸凸块结构,然后将凸块插入至婴儿肚脐眼位置处,以适用于不同婴儿的肚脐眼大小,提高适用性,通过将覆盖贴贴合在护理带的顶部处将将铰接挂环组件与铰接挂钩组件覆盖,通过调节侧腰部防护组件至合适位置处护在婴儿的腰部处,通过第二魔术贴组件将护理带的两端贴合进而捆绑在婴儿身上避免婴儿哭闹撕掉的问题。 | ||||
| 补充信息 | |||||
| 转让方式: | 成熟度: | 预估价值: | |||
| 市场前景: | |||||