样品
成果详情
| 项目简介 | |||||
|---|---|---|---|---|---|
| 技术简介: | |||||
| 专利类型: | 实用新型 | 专利申请号: | CN202322147780.X | 公开号: | CN221205457U |
| 专利权人: | 南方医科大学南方医院 | 发明设计人: | 张恭良;刘佳宾;林晓佳;何炎 | ||
| 所属领域: | |||||
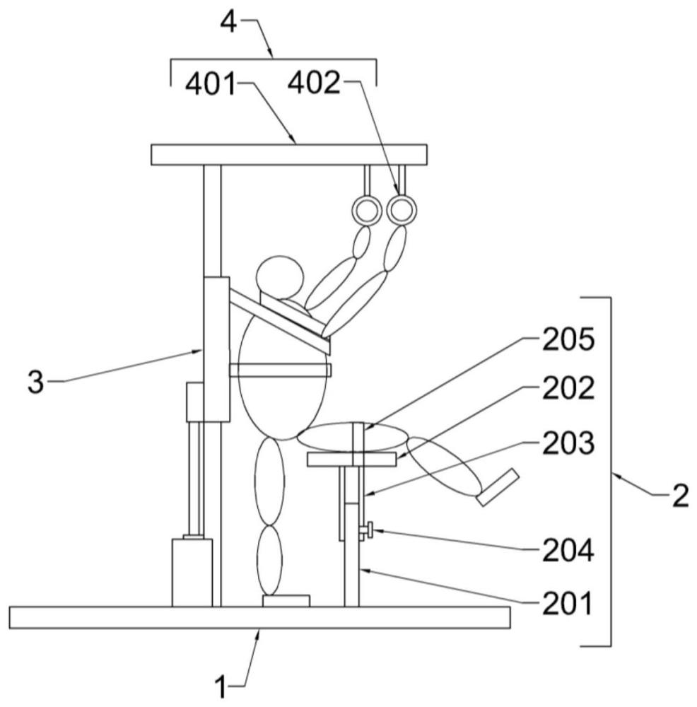
| 摘要: | 本实用新型属于医学影像技术领域,尤其涉及一种膝关节的X线辅助摄影装置,包括:底座,所述底座顶端固定连接有大腿固定结构、躯干支撑结构,所述躯干支撑结构顶端固定连接有手拉维稳结构,人体的患肢侧大腿与所述大腿固定结构连接,所述人体的躯干与所述躯干支撑结构连接,所述人体的双臂与所述手拉维稳结构连接。利用这些结构,实现了一种能够有效提高膝关节X射线摄像稳定性,让患者在摄像时更加安全的膝关节的X线辅助摄影装置。 | ||||
| 补充信息 | |||||
| 转让方式: | 成熟度: | 预估价值: | |||
| 市场前景: | |||||