样品
成果详情
| 项目简介 | |||||
|---|---|---|---|---|---|
| 技术简介: | |||||
| 专利类型: | 实用新型 | 专利申请号: | CN202122113123.4 | 公开号: | CN215607214U | 
| 专利权人: | 南方医科大学南方医院 | 发明设计人: | 朱陶锦;孙超 | ||
| 所属领域: | |||||
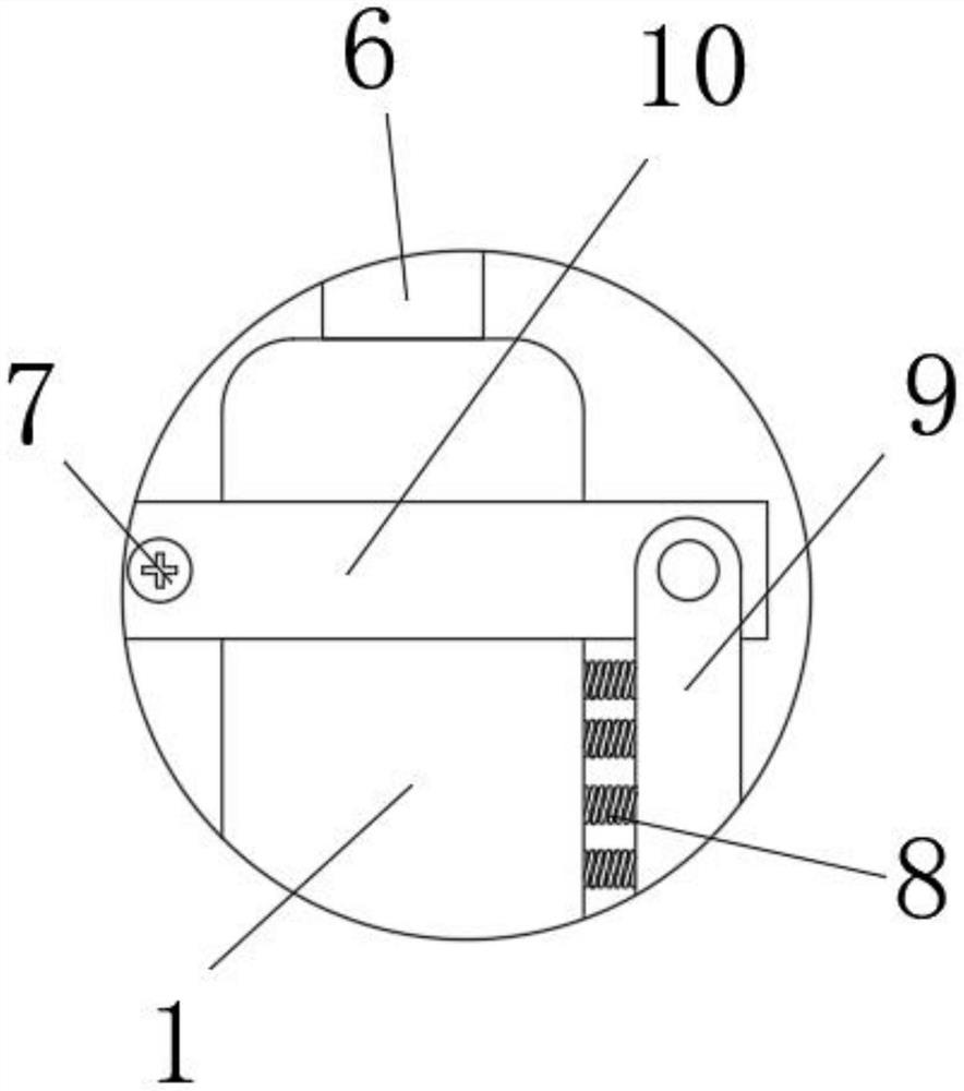
| 摘要: | 本实用新型公开了一种便于随身携带的输液器接口分离笔,包括圆珠笔本体,所述圆珠笔本体的顶部活动连接有限位板,所述限位板的表面活动连接有夹板,所述圆珠笔本体的内腔设置有摁压开关。本实用新型通过圆珠笔本体、指套、夹板、卡槽、拉簧、限位板和紧固螺丝的配合使用,使其指套被医护人员拉动,使其夹板被抬起,在抬起的过程中拉簧会被拉扯发生形变,然后即可将圆珠笔本体靠近输液器,解决了现有的输液器比如留置针、三通与输液器接头处有时候用手很难拧开,如果用力过大发生打滑会导致患者以及工作人员出现受伤的现象,这样既费时又费力,加重工作量,还会引起病人不满的问题。 | ||||
| 补充信息 | |||||
| 转让方式: | 成熟度: | 预估价值: | |||
| 市场前景: | |||||