样品
成果详情
| 项目简介 | |||||
|---|---|---|---|---|---|
| 技术简介: | |||||
| 专利类型: | 实用新型 | 专利申请号: | CN202422144733.4 | 公开号: | CN221844647U |
| 专利权人: | 南方医科大学南方医院 | 发明设计人: | 马琼;钟慧群;汤青云;杨舜妮;徐钰源;黄少燕 | ||
| 所属领域: | |||||
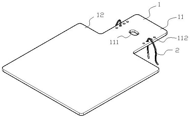
| 摘要: | 本实用新型涉及支气管镜治疗领域,尤其涉及一种纤维支气管镜患者防喷溅装置,该装置可对面部及胸前区域起到防护作用。包括柔性的盖片,所述盖片整体呈凸字形结构,上侧为面部防护片,下侧为胸前防护片,所述面部防护片上嵌有与鼻孔配合的第一通孔,面部防护片左右两侧分别竖向排列设有若干第二通孔,左右两侧的一个第二通孔中穿置有与耳部配合的系绳。它操作简单,使用方便,适用于多种患者。 | ||||
| 补充信息 | |||||
| 转让方式: | 成熟度: | 预估价值: | |||
| 市场前景: | |||||