样品
成果详情
| 项目简介 | |||||
|---|---|---|---|---|---|
| 技术简介: | |||||
| 专利类型: | 实用新型 | 专利申请号: | CN202121559575.9 | 公开号: | CN215460918U | 
| 专利权人: | 南方医科大学南方医院 | 发明设计人: | 彭丽丽;沈鹏飞;周嘉玲;黄良;任翠玉 | ||
| 所属领域: | |||||
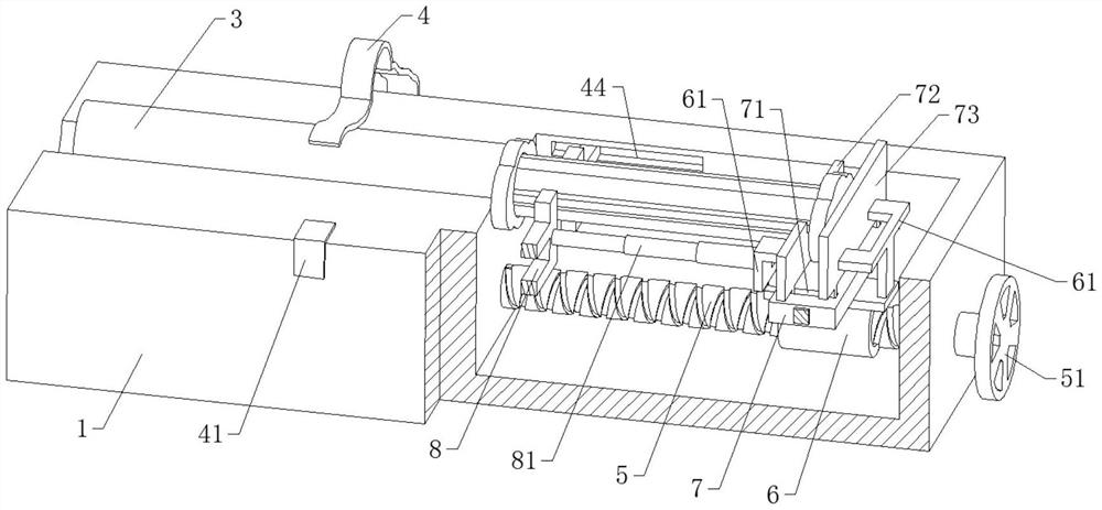
| 摘要: | 本实用新型公开了一种螺旋式手摇注射泵,涉及医疗器械技术领域,包括底座,所述底座左侧中部开设有注射槽,所述注射槽内腔放置有注射器,所述底座背面侧壁固定连接有卡带,所述底座前侧壁设置有魔术贴,所述卡带与所述魔术贴粘性连接,所述底座上端面右侧开设有推进仓。本实用新型通过丝杆带动螺纹套移动,配合第一推块、第二推块、后推板以及前推板,将注射器推进杆端进行固定,并且在螺纹套移动的过程中还通过第二推块、弹簧伸缩杆以及挤压块之间的配合,进一步加强了该装置的固定效果,从而提高了该装置在进行注射时的稳定性,而且通过挤压块在第一滑槽与第二滑槽内滑动,还可以对螺纹套进行限位,从而进一步提高了该装置的稳定性。 | ||||
| 补充信息 | |||||
| 转让方式: | 成熟度: | 预估价值: | |||
| 市场前景: | |||||