样品
成果详情
| 项目简介 | |||||
|---|---|---|---|---|---|
| 技术简介: | |||||
| 专利类型: | 实用新型 | 专利申请号: | CN202121311208.7 | 公开号: | CN214859950U |
| 专利权人: | 南方医科大学南方医院 | 发明设计人: | 游丽娟;钟超;史丽莎;王晓芬 | ||
| 所属领域: | |||||
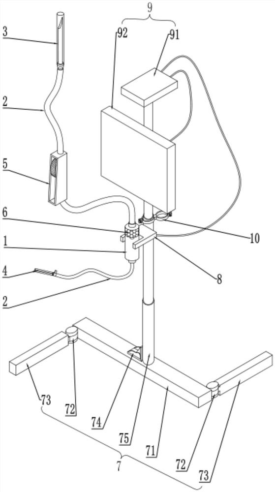
| 摘要: | 本实用新型公开了一种可计量输液器,包括墨菲氏滴管,在所述墨菲氏滴管的进、出口端分别通过一输液管道连接有瓶塞穿刺针和输液穿刺针,在所述输液管道上且位于所述墨菲氏滴管、瓶塞穿刺针之间设有调速器;在所述墨菲氏滴管内且靠近该墨菲氏滴管进口端的一端设有精密过滤器;其还包括伸缩架,在所述伸缩架上设有一工作时可拆卸设在所述墨菲氏滴管的外壁上且位于所述精密过滤器下方用于采集所述墨菲氏滴管的输液滴速信息的滴速传感器,并且,所述滴速传感器通过导电线与一设在所述伸缩架上用于接收该滴速传感器的采集信息并进行处理的控制装置连接。本实用新型具有能够准确计量输液量并且具备微颗粒过滤功能的优点。 | ||||
| 补充信息 | |||||
| 转让方式: | 成熟度: | 预估价值: | |||
| 市场前景: | |||||