样品
成果详情
| 项目简介 | |||||
|---|---|---|---|---|---|
| 技术简介: | |||||
| 专利类型: | 实用新型 | 专利申请号: | CN201821536616.0 | 公开号: | CN209091838U |
| 专利权人: | 南方医科大学珠江医院 | 发明设计人: | 王映;李华;彭花;张艳珊;成媛;朱萍;周静璇 | ||
| 所属领域: | |||||
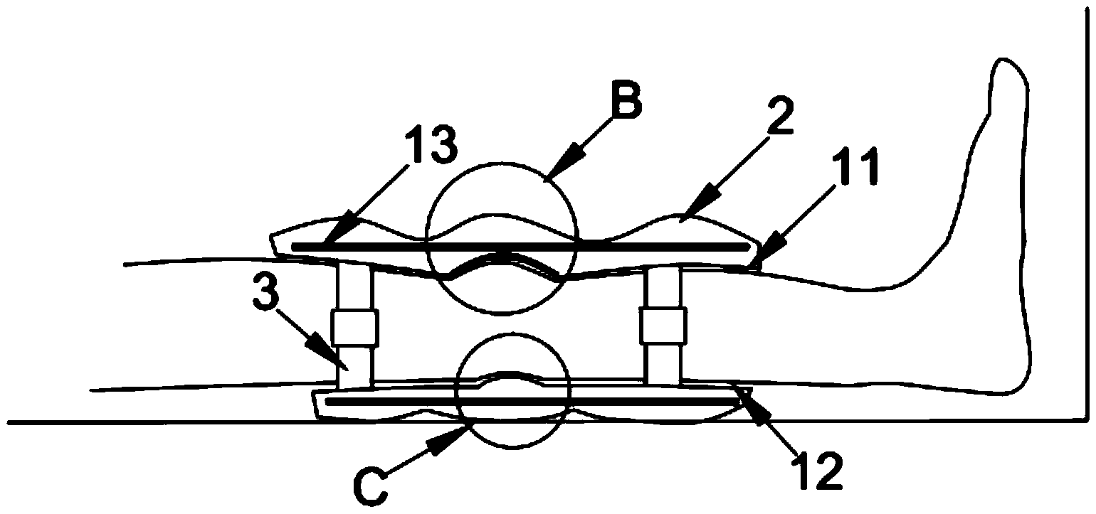
| 摘要: | 本实用新型公开了一种腿部冷敷结构,包括:长状的基片;所述基片沿其延伸方向设有若干个用于放置冷质袋的袋体;另设有与基片同向延伸的固定棒袋;还设有用于将所述基片固定在腿部的固定带;所述固定带一端与基片连接,另一端为自由端。其优点在于,所述腿部冷敷结构在使用过程中,只需将冷质袋放入袋体内,通过固定带将基片固定在患者患处即可,简化了医护人员在冰敷过程中的操作步骤,减少了固定冷质袋所需的时间,提高了医护人员的工作效率;采用所述腿部冷敷结构进行冰敷,腿部冷敷结构相较于保鲜膜固定,其透气性良好,对患者患处的压迫更小,不会给患者带来不适。 | ||||
| 补充信息 | |||||
| 转让方式: | 成熟度: | 预估价值: | |||
| 市场前景: | |||||