样品
成果详情
| 项目简介 | |||||
|---|---|---|---|---|---|
| 技术简介: | |||||
| 专利类型: | 实用新型 | 专利申请号: | CN201821254919.3 | 公开号: | CN208926925U |
| 专利权人: | 南方医科大学南方医院 | 发明设计人: | 张萍;余斌;项平 | ||
| 所属领域: | |||||
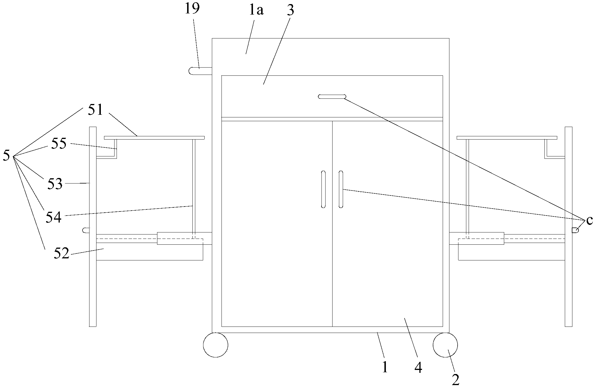
| 摘要: | 本实用新型公开了一种骨科床边换药车,包括车体,车体的顶部有用于放置消毒液和纱布的放置格,车体的左侧和右侧、以及车体前侧的上部和下部均敞口,车体的前侧上部敞口处装有用于放置消毒换药包且沿前后方向推拉的抽屉,车体的前侧下部敞口处装有对开式的开关门,车体的左侧和右侧敞口处均装有对称的沿左右方向推拉的架体,两个架体的前后侧均安装在车体内前后侧安装的水平轨道上,车体前侧安装的水平轨道位于车体前侧下部敞口位置,车体左侧和右侧的架体的上部均为套袋部,车体左侧和右侧的架体的下部均为承托部,车体左侧和右侧的架体的外侧分别为恰好与车体左侧和右侧敞口匹配的封板。本实用新型的骨科床边换药车使用方便,美观。 | ||||
| 补充信息 | |||||
| 转让方式: | 成熟度: | 预估价值: | |||
| 市场前景: | |||||