样品
成果详情
| 项目简介 | |||||
|---|---|---|---|---|---|
| 技术简介: | |||||
| 专利类型: | 实用新型 | 专利申请号: | CN201922101229.5 | 公开号: | CN211749814U |
| 专利权人: | 南方医科大学南方医院;施爱德(厦门)医疗器材有限公司 | 发明设计人: | 莫易凡;林志雄;林聪杰;邱木旺;苏占明 | ||
| 所属领域: | |||||
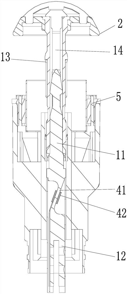
| 摘要: | 本实用新型为一种带压力感应装置的吻合器,它的主体为吻合器,抵钉座与旋钮之间设有通过带有应变式压力传感器的连接结构实现相互联动,使得当旋钮带动抵钉座向钉仓方向移动并接触阻挡物时,应变式压力传感器检测阻挡物对抵钉座的压力。较之现有技术而言,本实用新型的优点在于:通过提供直观的压力数据或警报让医生能够准确判断手术的最佳时机,降低医生手术操作门槛;在术中给以合理的组织压榨范围,避免出现成钉不一致、二次成钉等现象;提高手术的成功率,降低了手术风险,缩短手术时间和提升效率;在术后患者的信息,能够自动或手动发送到企业云平台,对后期数据进行统计分析,从而对外科手术科研有重要意义。 | ||||
| 补充信息 | |||||
| 转让方式: | 成熟度: | 预估价值: | |||
| 市场前景: | |||||