样品
成果详情
| 项目简介 | |||||
|---|---|---|---|---|---|
| 技术简介: | |||||
| 专利类型: | 实用新型 | 专利申请号: | CN202323291205.3 | 公开号: | CN221512548U |
| 专利权人: | 南方医科大学珠江医院 | 发明设计人: | 黄婧洁 | ||
| 所属领域: | |||||
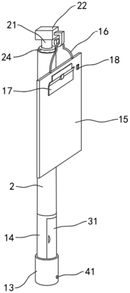
| 摘要: | 本实用新型提供了一种升降一体式病床夹板,涉及医疗器械技术领域,包括:床体,床体一侧固定连接有安装板,安装板顶部固定连接有连接杆,连接杆外部套设有套接杆,套接杆顶部固定连接有支撑杆,支撑杆上设有夹板。通过升降组件的使用能够调节夹板的高度,在签字时将升降杆拔出,使夹板升到一定高度,从而医务人员无需弯腰进行签字,降低工作强度,避免腰部出现劳损,其次,收纳组件能够存放备用签字笔,在笔没墨或忘带时,可以取用备用签字笔,进行签字确认,无需往返医务室拿取签字笔时,避免忘记签署输液单,导致输液中出现问题,提高实用性能。 | ||||
| 补充信息 | |||||
| 转让方式: | 成熟度: | 预估价值: | |||
| 市场前景: | |||||