样品
成果详情
| 项目简介 | |||||
|---|---|---|---|---|---|
| 技术简介: | |||||
| 专利类型: | 实用新型 | 专利申请号: | CN202320634279.3 | 公开号: | CN219579578U |
| 专利权人: | 南方医科大学南方医院 | 发明设计人: | 吴穗婷 | ||
| 所属领域: | |||||
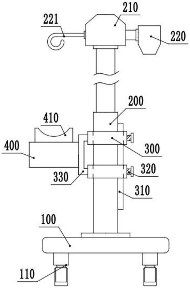
| 摘要: | 本实用新型涉及医疗器械技术领域,具体涉及一种电动输液架,包括底座,所述底座的外壁顶端中心处安装有电控伸缩杆,所述电控伸缩杆的外壁顶端安装有用于对输药瓶进出吊挂的吊挂组件,所述电控伸缩杆的外壁设置有用于对用户手臂进行承托的承托组件,所述承托组件包括升降部件、承托部件和用于对手机进行支撑的支撑部件,所述升降部件设置在电控伸缩杆的外壁,通过上述方式可知本实用新型能够在病人外出上厕所或者呼吸新鲜空气时能够对病人的手臂进行承载,从而使得人员在行走时能够更舒适,从而更方便病人进行使用。 | ||||
| 补充信息 | |||||
| 转让方式: | 成熟度: | 预估价值: | |||
| 市场前景: | |||||