样品
成果详情
| 项目简介 | |||||
|---|---|---|---|---|---|
| 技术简介: | |||||
| 专利类型: | 实用新型 | 专利申请号: | CN202021505493.1 | 公开号: | CN212929458U |
| 专利权人: | 南方医科大学南方医院 | 发明设计人: | 张斌 | ||
| 所属领域: | |||||
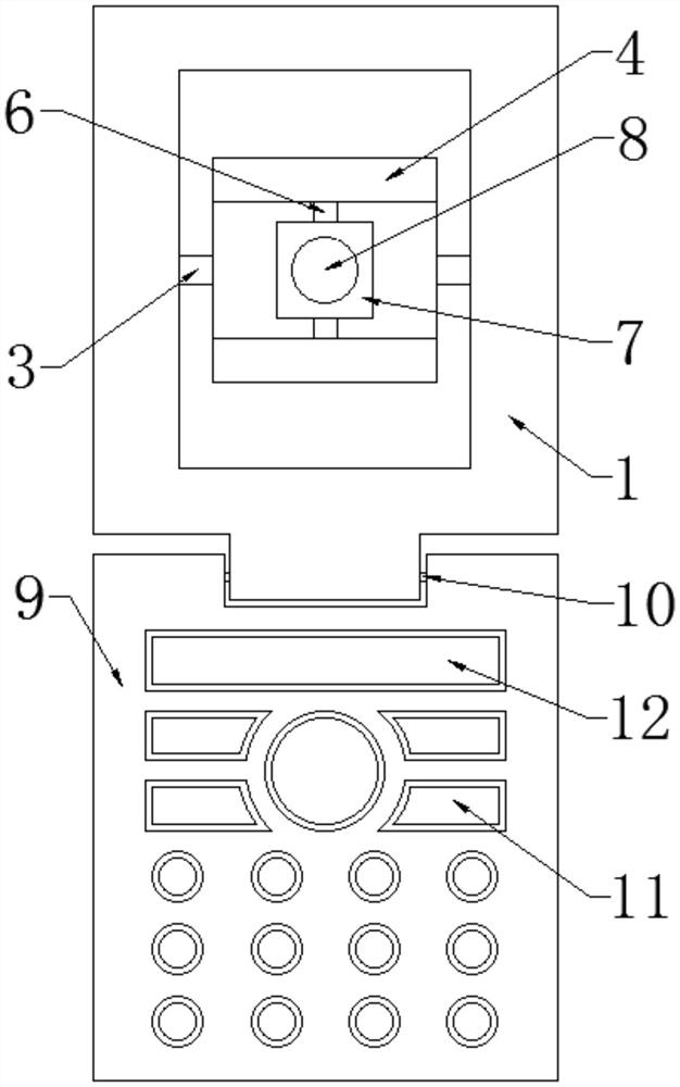
| 摘要: | 本实用新型公开了一种数据采集终端机,涉及数据采集设备领域,针对现有的数据采集终端机存在的易造成干扰,采集效果差,角度调节困难,易产生采集死角的问题,现提出如下方案,其包括采集箱,所述采集箱的内侧固定安装调节结构,所述调节结构包括第一电机、第一转动柱、固定板、第二电机、第二转动柱和固定块,所述固定块的侧壁固定安装有摄像头,所述采集箱的底端设置有控制结构,所述控制结构和采集箱转动连接有转动杆,所述控制结构包括控制箱、操作按钮和显示面板,所述控制箱的侧壁固定安装有固定结构,所述固定结构包括连接杆、调节带和调节扣。本实用新型结构新颖,且使用方便,避免产生采集死角,稳定性高,携带便利,适用范围广。 | ||||
| 补充信息 | |||||
| 转让方式: | 成熟度: | 预估价值: | |||
| 市场前景: | |||||