样品
成果详情
| 项目简介 | |||||
|---|---|---|---|---|---|
| 技术简介: | |||||
| 专利类型: | 实用新型 | 专利申请号: | CN202021319931.5 | 公开号: | CN213130185U |
| 专利权人: | 南方医科大学深圳医院 | 发明设计人: | 陈凌武;刘珊珊;周冠忠;曾云 | ||
| 所属领域: | |||||
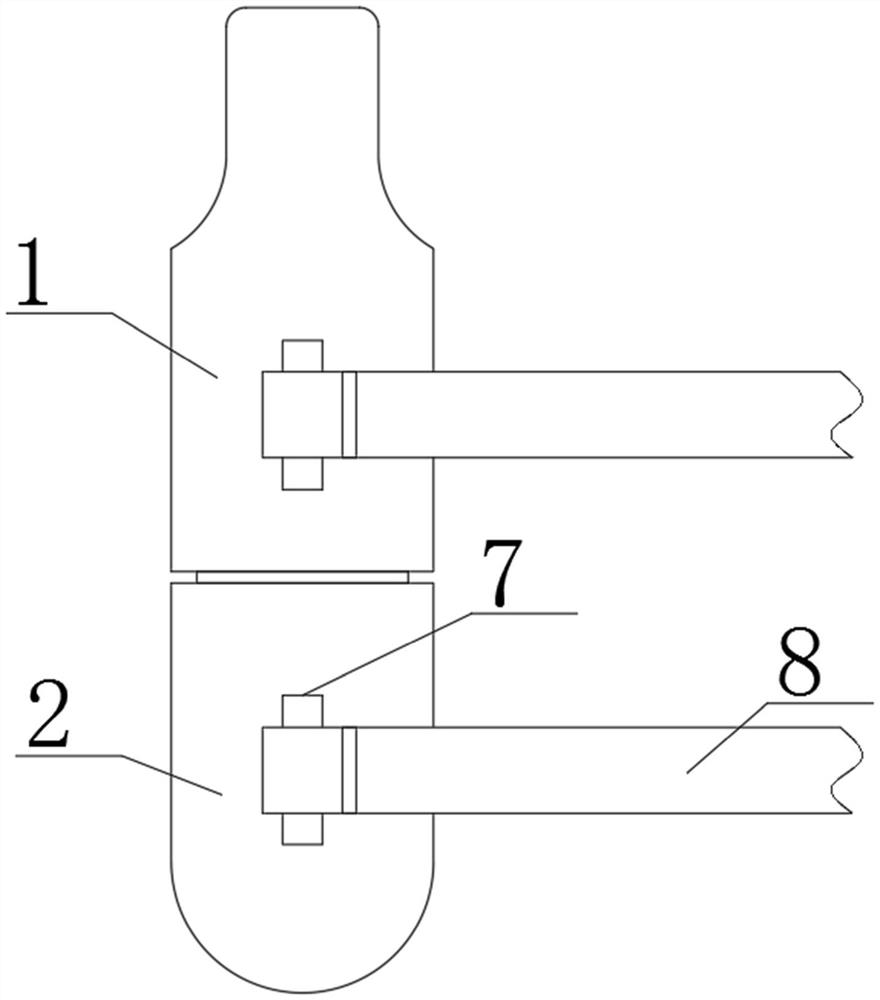
| 摘要: | 本实用新型公开了一种骨外科用骨折矫正装置,包括手指夹板,所述手指夹板的端部设置有延伸板,所述手指夹板的端部开设有滑槽,所述延伸板的端部固定有滑块,所述滑块与滑槽滑动连接,所述滑块的表面等距离对称开设有限位槽,所述滑槽的内壁等距离对称固定有限位扣,所述限位扣与限位槽卡合连接;本实用新型通过设计的延伸板,使得在需要调节手指夹板的长度时,可以通过设计的延伸板、滑槽、滑块、限位槽和限位扣方便快捷的进行调节,相比较现有的技术,大大方便了手指夹板的延伸工作。 | ||||
| 补充信息 | |||||
| 转让方式: | 成熟度: | 预估价值: | |||
| 市场前景: | |||||