样品
成果详情
| 项目简介 | |||||
|---|---|---|---|---|---|
| 技术简介: | |||||
| 专利类型: | 实用新型 | 专利申请号: | CN202022128968.6 | 公开号: | CN213553236U |
| 专利权人: | 南方医科大学南方医院 | 发明设计人: | 孙琼菲;黄榕;郭亚云;谢一色;叶小琴 | ||
| 所属领域: | |||||
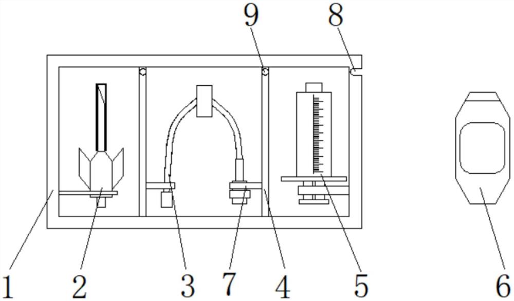
| 摘要: | 本实用新型公开了一种留置针套装,包括无菌套装袋和透明敷料,所述无菌套装袋内腔的两侧均竖向固定连接有隔膜,无菌套装袋内腔的左侧放置有安全型留置针,无菌套装袋内腔的中心处放置有无针接头,无菌套装袋内腔的右侧放置有预充式导管冲洗器,安全型留置针、无针接头、预充式导管冲洗器和透明敷料均为无菌型材料。本实用新型通过设置无菌套装袋、安全型留置针、无针接头、隔膜、预充式导管冲洗器和透明敷料配合使用,能够方便医护人员为患者留置套管针,节约寻找各种材料的时间,提高工作效率,极大方便医护人员,解决了现有的留置针套装使用繁琐,其时间大大增加,从而导致工作效率较差,降低了留置针套装实用性的问题。 | ||||
| 补充信息 | |||||
| 转让方式: | 成熟度: | 预估价值: | |||
| 市场前景: | |||||