样品
成果详情
| 项目简介 | |||||
|---|---|---|---|---|---|
| 技术简介: | |||||
| 专利类型: | 发明 | 专利申请号: | CN201810264939.7 | 公开号: | CN108201654A |
| 专利权人: | 南方医科大学南方医院 | 发明设计人: | 邹莹莹;王莉慧;金兵兵;黄颖 | ||
| 所属领域: | |||||
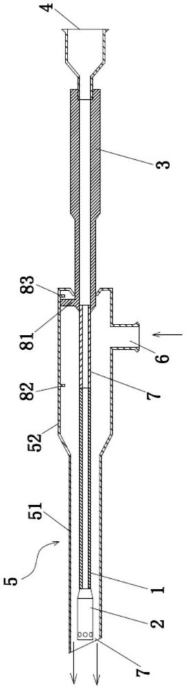
| 摘要: | 本发明公开了一种多用途喷洒导管,包括内管,内管的两端分别连接有喷头和第一注液口,所述喷头上设有第一喷孔;还包括设置在内管外侧且与其间隙布置的外壳,外壳靠近所述喷头的一端设有呈环状的第二喷孔,外壳的另一端侧壁上设有第二注液口,第一注液口位于外壳外侧,喷头外侧壁与外壳内侧壁之间间隙布置形成所述呈环状的第二喷孔,第二喷孔的间隙宽度大于第一喷孔的孔径。本发明提供的多用途喷洒导管,其既能喷洒浓度较稀的药液,也能喷洒粘稠度较高的乳剂,而且不会出现堵塞。 | ||||
| 补充信息 | |||||
| 转让方式: | 成熟度: | 预估价值: | |||
| 市场前景: | |||||