样品
成果详情
| 项目简介 | |||||
|---|---|---|---|---|---|
| 技术简介: | |||||
| 专利类型: | 实用新型 | 专利申请号: | CN202122312504.5 | 公开号: | CN215730550U |
| 专利权人: | 南方医科大学珠江医院 | 发明设计人: | 黄莉;谢皑琦;李宁维;黄家慧 | ||
| 所属领域: | |||||
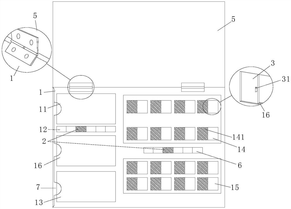
| 摘要: | 本实用新型公开了一种患者信息展示床头牌,包括床头牌本体和固定装置,所述床头牌本体的正面设有用于显示各类信息的卡槽,所述固定装置安装在床头牌本体的背面,所述床头牌本体通过固定装置固定在病床床头或床尾处并且所述床头牌本体能够通过固定装置活动旋转;所述床头牌本体的顶部还设有一透明盖板,所述透明盖板通过合页与床头牌本体活动连接,用于使透明盖板在放下时能够覆盖床头牌本体正面,防止病人或旁人误触导致信息错误。本实用新型通过遮蔽或显露卡槽内的信息以显示需要的信息,规范了病床周围物品的放置,防止混乱,能够及时更新患者的各种信息,同时有效的防止病人误触导致信息混乱,提高了护理效率。 | ||||
| 补充信息 | |||||
| 转让方式: | 成熟度: | 预估价值: | |||
| 市场前景: | |||||