样品
成果详情
| 项目简介 | |||||
|---|---|---|---|---|---|
| 技术简介: | |||||
| 专利类型: | 实用新型 | 专利申请号: | CN202220081227.3 | 公开号: | CN218704962U | 
| 专利权人: | 南方医科大学南方医院 | 发明设计人: | 姚琳;钟超;叶桂荣 | ||
| 所属领域: | |||||
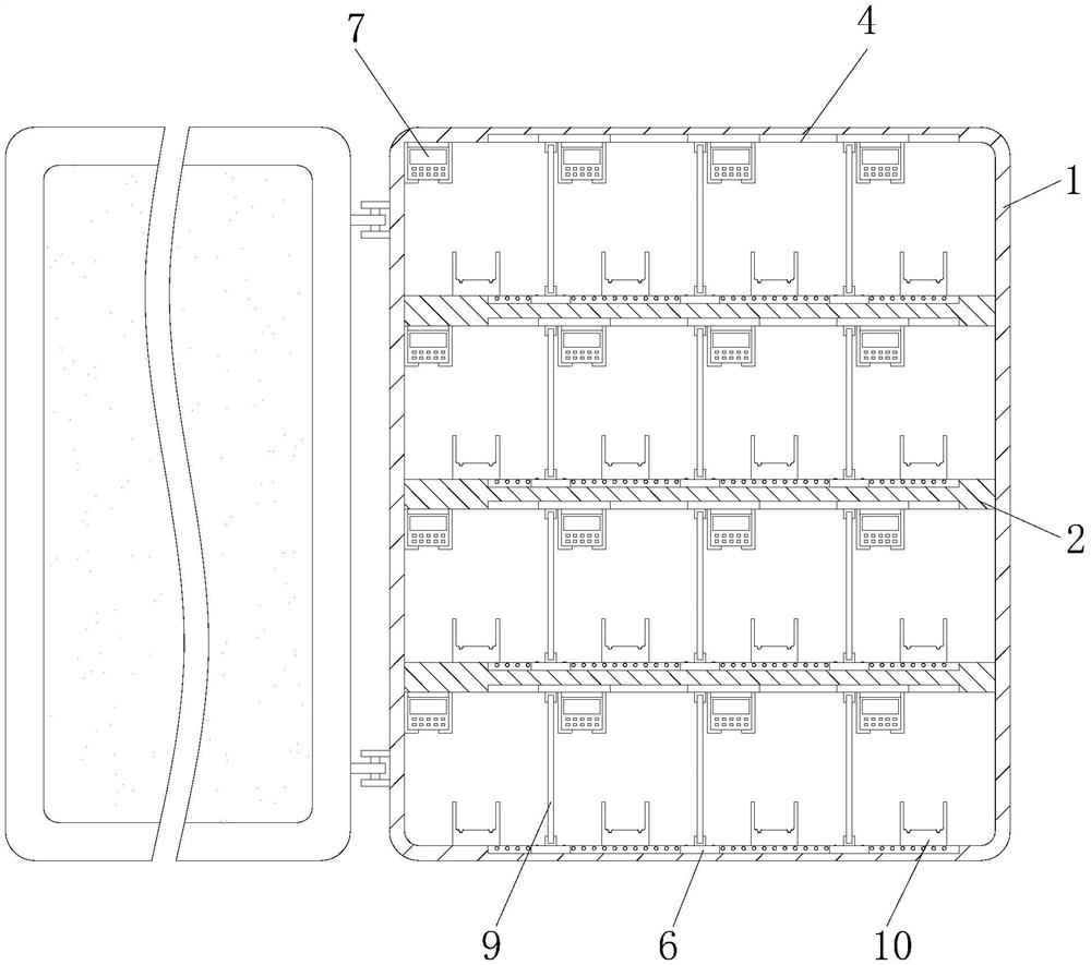
| 摘要: | 本实用新型公开了储药盒,包括箱体,所述箱体的内腔横向固定连接有横板,所述箱体内腔的顶部和横板的底部均开设有第一滑槽,第一滑槽的内腔滑动连接有第一滑块,横板的顶部和箱体内腔的底部均开设有第二滑槽,第一滑槽的内腔滑动连接有第一滑块,第二滑槽的内腔滑动连接有第二滑块,第二滑块和第一滑块相对的一侧固定连接有滑框,滑框的内腔滑动连接有隔板。本实用新型具备分类存放和合理利用空间的优点。 | ||||
| 补充信息 | |||||
| 转让方式: | 成熟度: | 预估价值: | |||
| 市场前景: | |||||