样品
成果详情
| 项目简介 | |||||
|---|---|---|---|---|---|
| 技术简介: | |||||
| 专利类型: | 发明 | 专利申请号: | CN201911316429.0 | 公开号: | CN111012461A |
| 专利权人: | 南方医科大学深圳医院 | 发明设计人: | 李东方;隋泽森;张建华 | ||
| 所属领域: | |||||
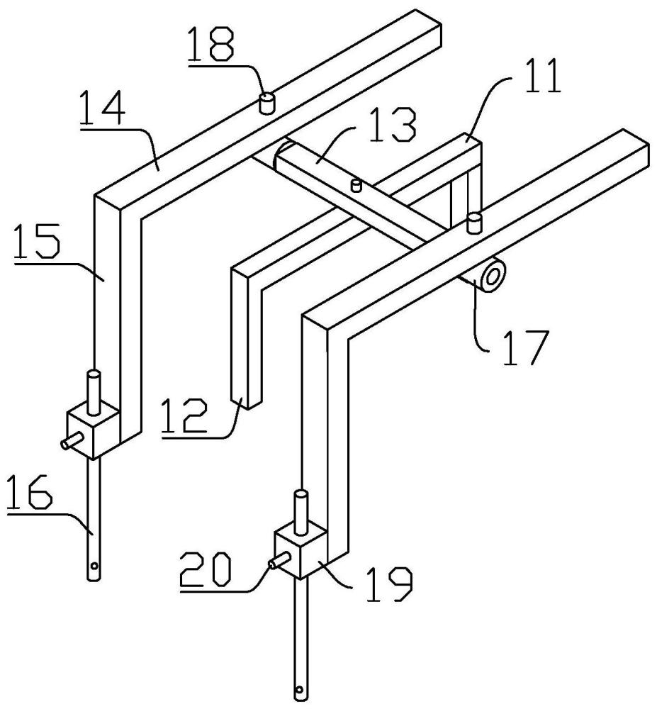
| 摘要: | 本发明公开了肋骨骨折的复位装置,其包括固定架和支撑杆,固定架包括横杆和两个第一竖杆,两个第一竖杆分别位于横杆的两端,支撑杆的中部安装在横杆的中部,支撑杆垂直于横杆,支撑杆的两端分别布置有摆动臂,摆动臂的一端布置有直杆,直杆的下端布置有骨针,支撑杆的两端分别布置有用于安装摆动臂的套筒,套筒的外侧成型有用于安装摆动臂的安装轴。临床使用时摆动臂具有上下和左右两个维度的调整方式,采用微创手术的方式将骨针与断裂的肋骨安装,再调整摆动臂使肋骨对接。本发明结构合理,操作方便,可广泛应用于医疗器械技术领域。 | ||||
| 补充信息 | |||||
| 转让方式: | 成熟度: | 预估价值: | |||
| 市场前景: | |||||