样品
成果详情
| 项目简介 | |||||
|---|---|---|---|---|---|
| 技术简介: | |||||
| 专利类型: | 实用新型 | 专利申请号: | CN202223323744.6 | 公开号: | CN219167250U |
| 专利权人: | 南方医科大学珠江医院 | 发明设计人: | 杨婷;喻顺;林佩儒;陈智婷;孙子璇;廖小婷 | ||
| 所属领域: | |||||
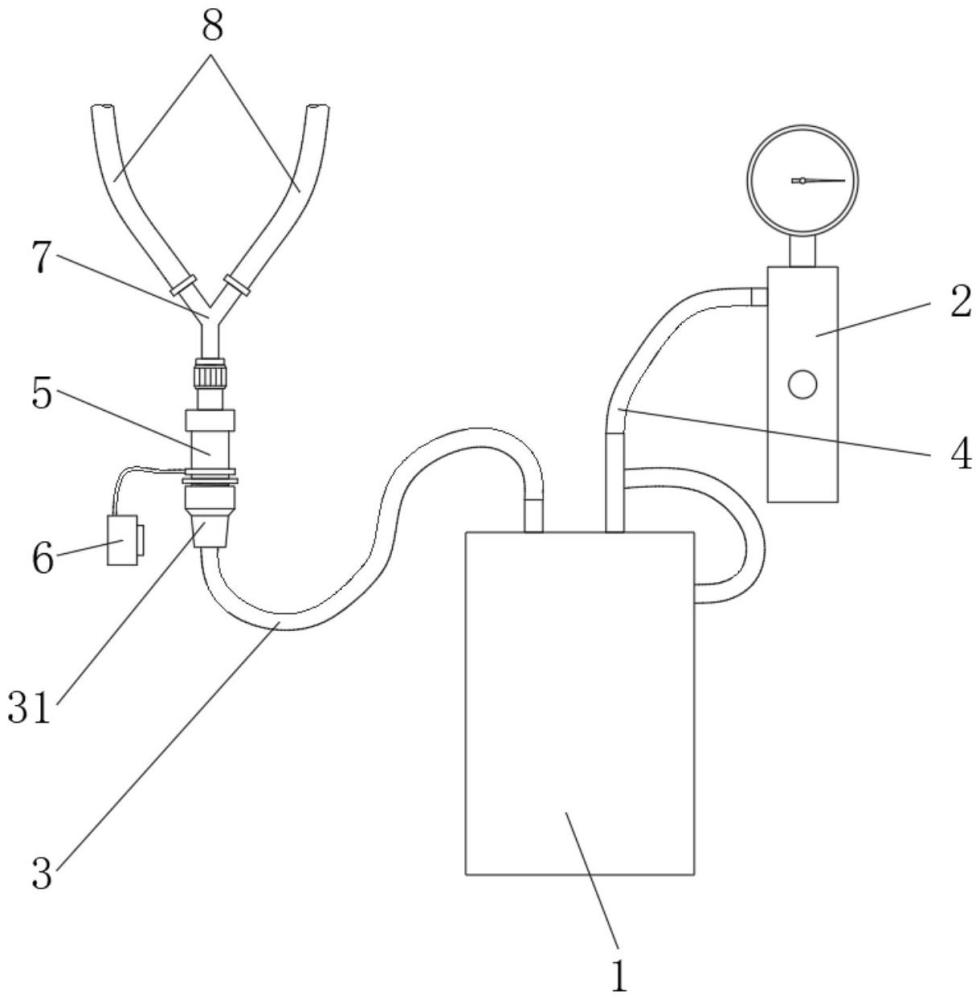
| 摘要: | 本实用新型公开了一种VSD用负压引流装置。一种VSD用负压引流装置,包括引流瓶和负压装置,在所述引流瓶上设有引流管和负压管,所述负压管与负压装置连接,其中,在所述引流管的前端设有连接头,所述连接头与一能够自动开闭来维持管道内负压状况的负压维持组件连接,在所述负压维持组件上套设有能够与该负压维持组件下端口配合装设在一起的保护塞,在所述负压维持组件的上端设有三通管,所述三通管的上端两侧均设有能够连接患者创面引流处的吸引管。本实用新型一种VSD用负压引流装置,能够保障有效负压环境,有利于引流患者创面处积液并且有利于患者下床活动和解决生理需求。 | ||||
| 补充信息 | |||||
| 转让方式: | 成熟度: | 预估价值: | |||
| 市场前景: | |||||