样品
成果详情
| 项目简介 | |||||
|---|---|---|---|---|---|
| 技术简介: | |||||
| 专利类型: | 发明 | 专利申请号: | CN202011444709.2 | 公开号: | CN112603439A |
| 专利权人: | 南方医科大学南方医院 | 发明设计人: | 许波;张广清;莫晓琼;赖晶;罗小琴;乔惠 | ||
| 所属领域: | |||||
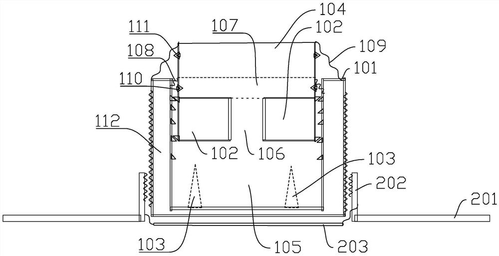
| 摘要: | 本发明公开了一种冷敷止血的装置,该装置包括止血组件和固定带,止血组件包括外壳、储存装置和至少一个穿刺部,储存装置可上下移动地安装在外壳中,储存装置的底部与外壳底部之间构成反应腔,反应腔储存有用于参与制冷反应的固态物质,储存装置的上部设置有缓存腔,缓存腔储存有吸收物质,反应腔通过气流通道与缓存腔连通,储存装置中设置有至少一个储存格,储存格装有用于参与制冷反应的溶液一,穿刺部设置在外壳的底部。固定带将止血组件固定在患者的出血位置,按压止血组件,穿刺部刺破储存格,溶液一和固态物质产生制冷反应,快速止血,避免产生淤血,反应产生的气体进入缓存腔吸收。本发明可广泛应用于医疗器械技术领域。 | ||||
| 补充信息 | |||||
| 转让方式: | 成熟度: | 预估价值: | |||
| 市场前景: | |||||