样品
成果详情
| 项目简介 | |||||
|---|---|---|---|---|---|
| 技术简介: | |||||
| 专利类型: | 实用新型 | 专利申请号: | CN201822209052.6 | 公开号: | CN210020833U |
| 专利权人: | 南方医科大学南方医院 | 发明设计人: | 王雪飞;马从顺;汪丽萍;钟梅 | ||
| 所属领域: | |||||
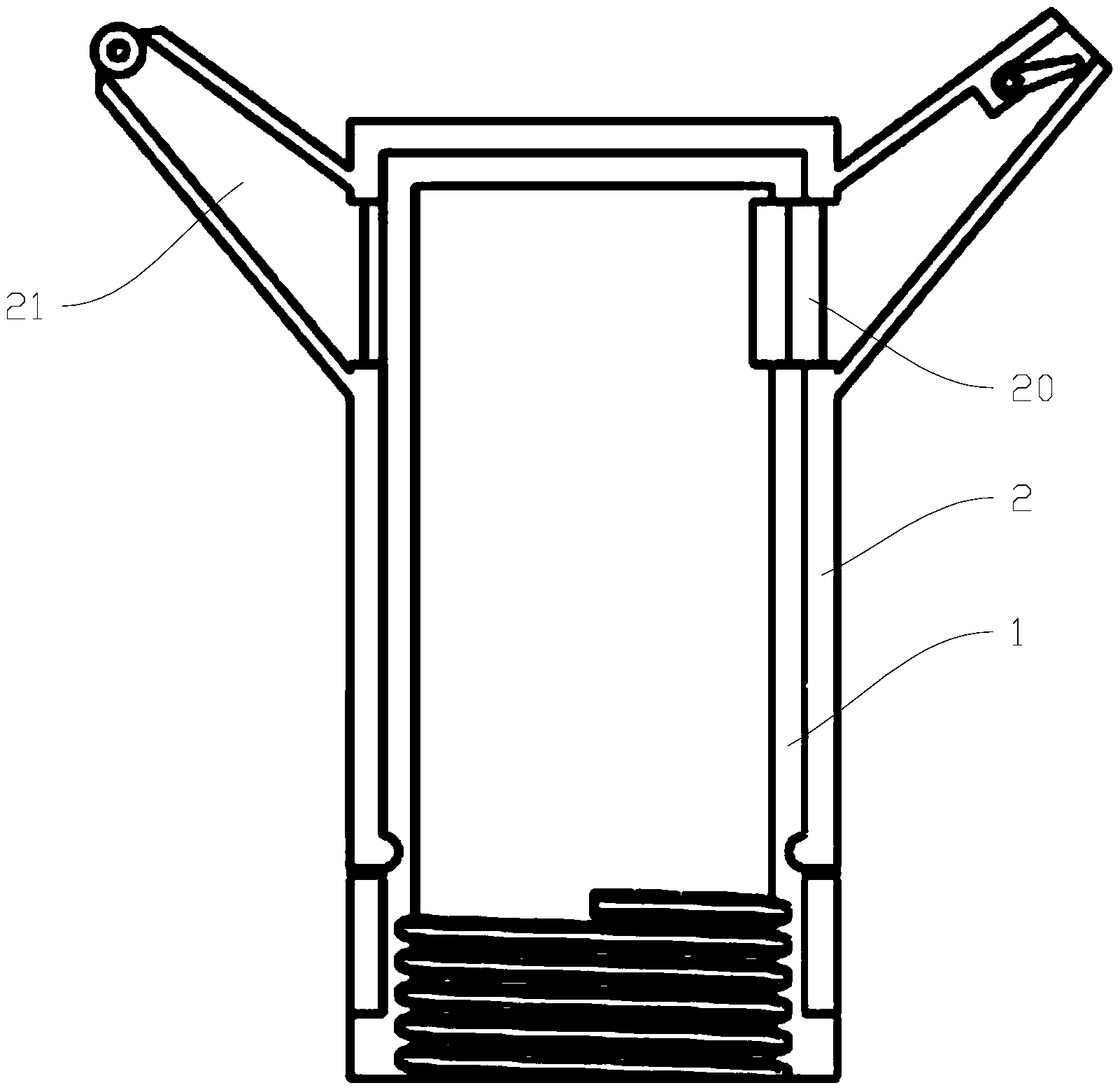
| 摘要: | 本实用新型公开了一种新型涂药器,其包括内筒和套接在内筒外的外筒,内筒的底部设有用于与药膏口连接的连接结构,内筒的侧壁上设有一出料孔,外筒的侧壁上设有至少两个出口,出口上均设有导流通道,其中一个出口的导流通道出口端设有滚筒,内筒和外筒之间设有能固定出料孔与各出口的相对位置的定位机构。本实用新型通过内筒与药膏口连接,药膏被挤入内筒中,通过旋转外筒使出料孔对准外筒不同的出口从而令药膏从不同的导流通道流出。其中的一个导流通道出口端的滚筒,使患者可一边涂药一边利用滚筒抹匀;而另外的导流通道则可用于涂上药膏至需厚敷或不能使用滚筒的患处。本实用新型满足了不同药膏的涂抹要求,且方便卫生,易于使用。 | ||||
| 补充信息 | |||||
| 转让方式: | 成熟度: | 预估价值: | |||
| 市场前景: | |||||