样品
成果详情
| 项目简介 | |||||
|---|---|---|---|---|---|
| 技术简介: | |||||
| 专利类型: | 实用新型 | 专利申请号: | CN201820736621.X | 公开号: | CN208693880U |
| 专利权人: | 南方医科大学珠江医院 | 发明设计人: | 曹秀云;范梅霞 | ||
| 所属领域: | |||||
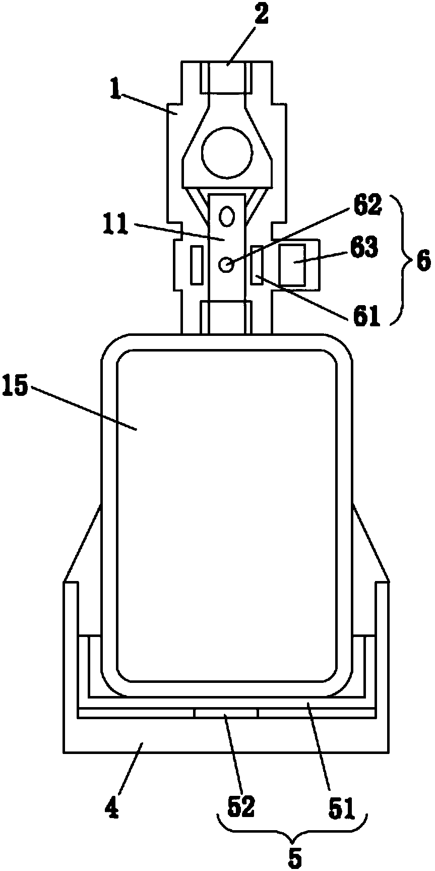
| 摘要: | 本实用新型公开了一种改良的带报警功能的引流袋,包括引流袋本体和连接部,该连接部上由上至下依次设有相连通的引流管连接端、引流通道和引流袋连接端,在所述引流通道处设有流量计;连接部下方设有承托部,承托部上设有用于放置引流袋本体并检测其重量的重力检测装置,还包括相互电路连接的控制器和报警器,所述流量计和重力检测装置均与控制器电路连接。本实用新型提供的改良的带报警功能的引流袋,其能够实时监测引流袋的流量和引流袋内引流液量的多少,无需人工监测,监控更准确,并能起到有效的报警作用。 | ||||
| 补充信息 | |||||
| 转让方式: | 成熟度: | 预估价值: | |||
| 市场前景: | |||||