样品
成果详情
| 项目简介 | |||||
|---|---|---|---|---|---|
| 技术简介: | |||||
| 专利类型: | 实用新型 | 专利申请号: | CN201920848572.3 | 公开号: | CN210472757U |
| 专利权人: | 南方医科大学南方医院 | 发明设计人: | 黄榕;宋洁;陈青青;刘映晨;陈泽纯;范嘉仪 | ||
| 所属领域: | |||||
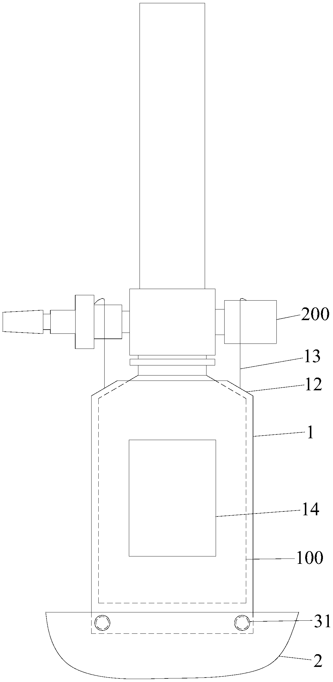
| 摘要: | 本实用新型公开了一种吸氧湿化瓶冷凝水收集装置,包括套于吸氧湿化瓶外围的硅胶套,硅胶套的上下两端均为敞口设计,硅胶套的上部有挂钩,硅胶套的下部可拆卸连接有位于吸氧湿化瓶底部下方的内凹形硅胶托水盘。本实用新型的吸氧湿化瓶冷凝水收集装置解决了冷凝水滴到患者床头或床头柜甚至患者头部的问题,从而不需要清洁床头或床头柜,减少了劳动量,也避免了给患者造成不舒适感。 | ||||
| 补充信息 | |||||
| 转让方式: | 成熟度: | 预估价值: | |||
| 市场前景: | |||||