样品
成果详情
| 项目简介 | |||||
|---|---|---|---|---|---|
| 技术简介: | |||||
| 专利类型: | 实用新型 | 专利申请号: | CN202021814000.2 | 公开号: | CN213407196U |
| 专利权人: | 南方医科大学南方医院 | 发明设计人: | 李园芳;廖卫华;丁悦;刁莉萍;郑爽欢 | ||
| 所属领域: | |||||
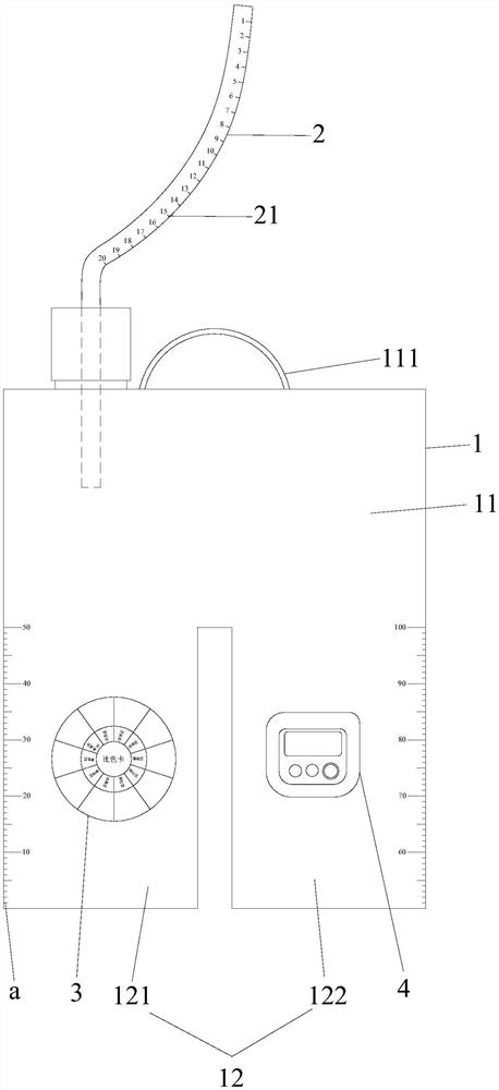
| 摘要: | 本实用新型公开了一种新生儿用精密负压吸引瓶,包括瓶体和连接瓶体的引流管,所述瓶体包括上部和下部,下部通过一个竖向布置的分隔凹槽分隔为彼此独立的第一部分和第二部分,第一部分和第二部分的内腔与上部的内腔连通,第一部分和第二部分的容量均为50ml,第一部分和第二部分上均有竖向布置的刻度一,且均为每1ml一个刻度,引流管的下端正对第一部分的内腔。本实用新型的新生儿用精密负压吸引瓶方便精确计算引流量。 | ||||
| 补充信息 | |||||
| 转让方式: | 成熟度: | 预估价值: | |||
| 市场前景: | |||||