样品
成果详情
| 项目简介 | |||||
|---|---|---|---|---|---|
| 技术简介: | |||||
| 专利类型: | 实用新型 | 专利申请号: | CN201821151385.1 | 公开号: | CN209019264U |
| 专利权人: | 南方医科大学南方医院 | 发明设计人: | 黄榕;侯晓敏;宋洁;徐丽;曾嘉 | ||
| 所属领域: | |||||
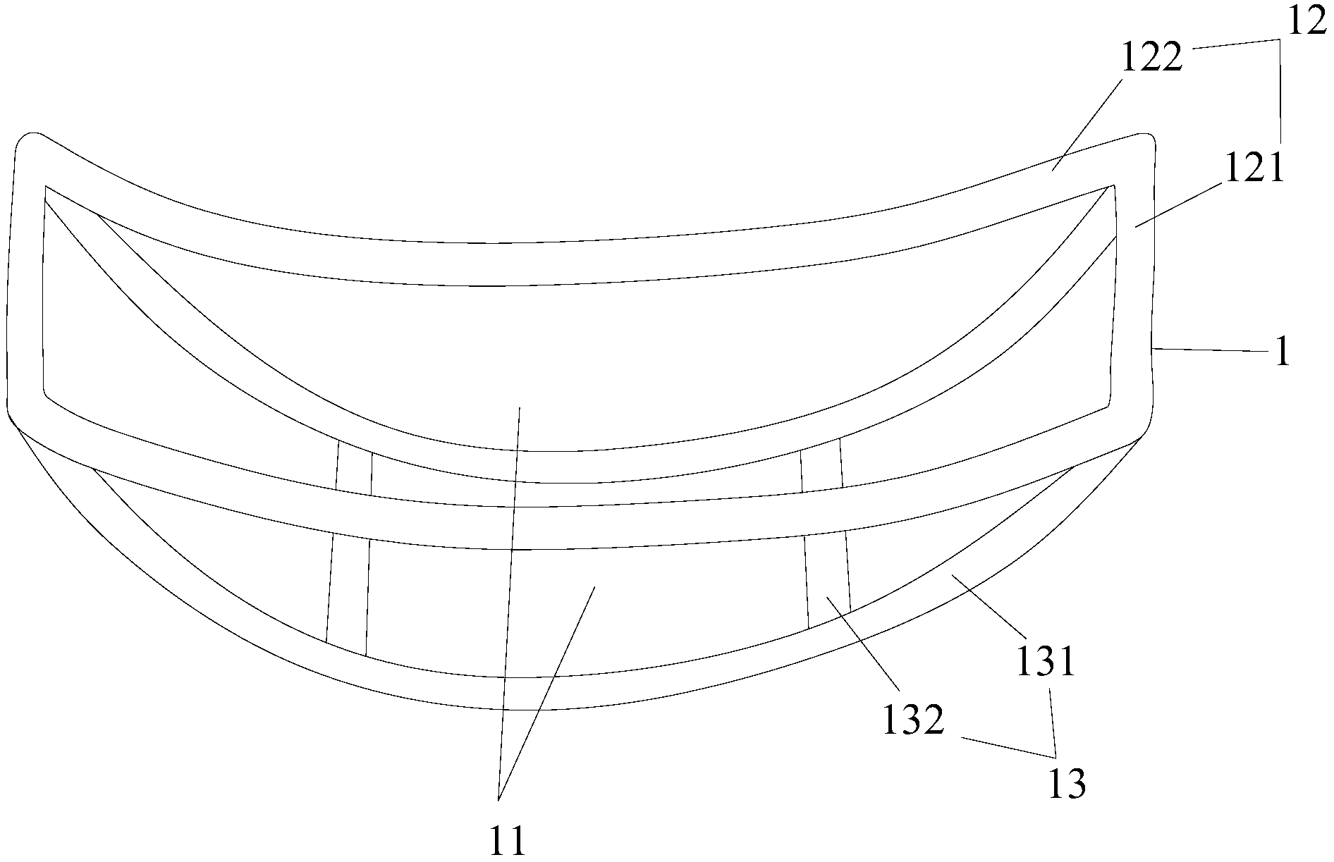
| 摘要: | 本实用新型公开了一种腰部按摩垫,包括韧性腰部按摩骨架,韧性腰部按摩骨架的上端为贴近腰部端,贴近腰部端是与腰部相适应的凹弧形结构,韧性腰部按摩骨架的侧面和上端开设有相互连通的按摩操作空间。本实用新型的腰部按摩垫解决了病人腰痛、腰酸等不适的问题,家属或护理员随时可为患者进行腰部按摩。 | ||||
| 补充信息 | |||||
| 转让方式: | 成熟度: | 预估价值: | |||
| 市场前景: | |||||