样品
成果详情
| 项目简介 | |||||
|---|---|---|---|---|---|
| 技术简介: | |||||
| 专利类型: | 实用新型 | 专利申请号: | CN201820468474.2 | 公开号: | CN212699112U |
| 专利权人: | 南方医科大学南方医院 | 发明设计人: | 邹莹莹;王莉慧;金兵兵;黄颖;邢同印;彭群;谭文欣;赖吉凤;陈湘 | ||
| 所属领域: | |||||
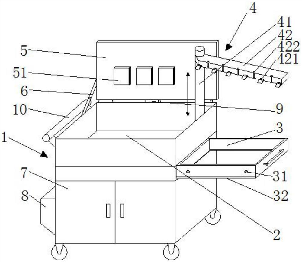
| 摘要: | 本实用新型公开了一种一体式手术配件车。一种一体式手术配件车,包括治疗车主体,该治疗车主体上部设有开口向上的收纳仓,所述的治疗车主体中部设有能收入在其内或从其一侧横向拖出的无菌袋安装框,无菌袋安装框位于收纳仓的下方,所述的收纳仓内设有能上下伸缩并旋转移出的置物架,所述移出的的置物架与横向拖出的无菌袋安装框上下对齐。本实用新型的一种一体式手术配件车具有可在手术过程中作为手术器具存放架使用的特点。 | ||||
| 补充信息 | |||||
| 转让方式: | 成熟度: | 预估价值: | |||
| 市场前景: | |||||