样品
成果详情
| 项目简介 | |||||
|---|---|---|---|---|---|
| 技术简介: | |||||
| 专利类型: | 实用新型 | 专利申请号: | CN201921559017.5 | 公开号: | CN211157609U |
| 专利权人: | 南方医科大学珠江医院 | 发明设计人: | 文焕韬;张旺明;陈嘉志;黄曙杰;罗敏捷;关建维;赵信德 | ||
| 所属领域: | |||||
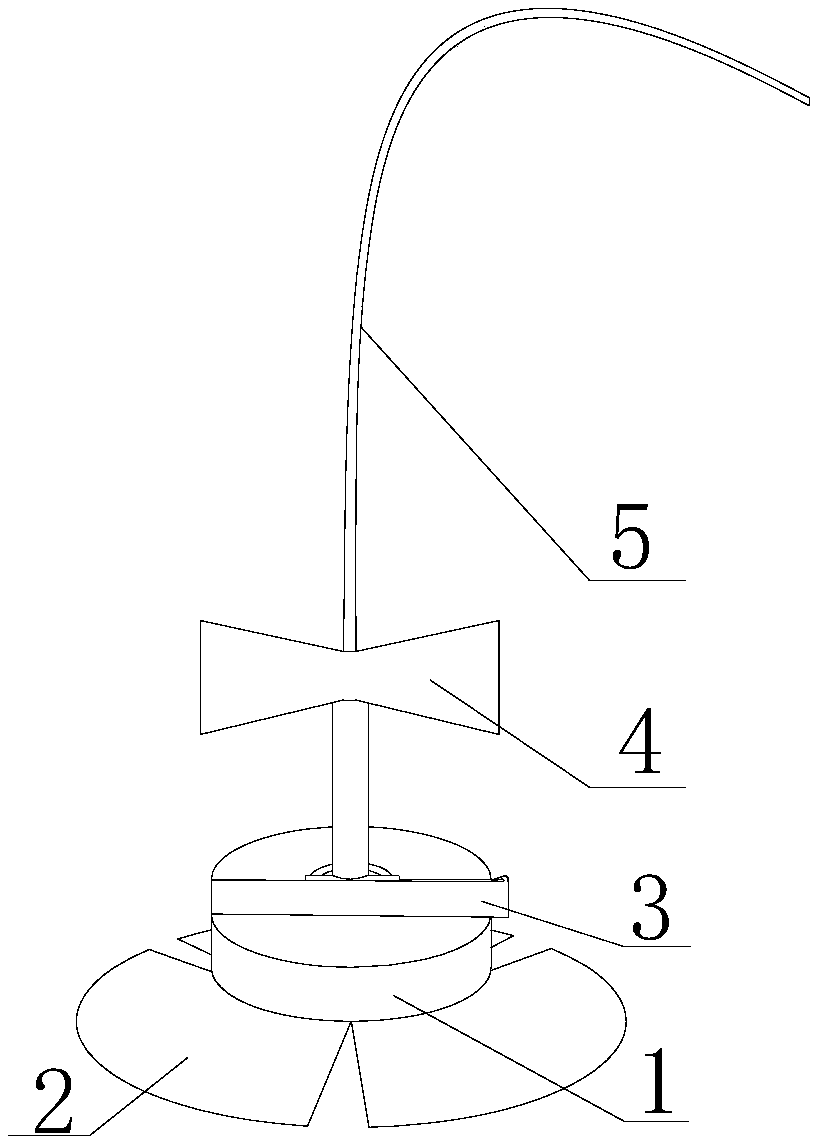
| 摘要: | 本实用新型涉及一种Ommaya囊穿刺引流装置包括开设有通孔的基座;设置于所述基座的顶端的夹持装置;穿刺针,所述穿刺针包括针体和针头,所述针头位于所述针体的前端,所述夹持装置夹持所述针体,使所述针头伸入所述基座的通孔;引流管,所述引流管连通所述针体的后端;用于固定所述基座的敷贴,所述敷贴位于所述基座的底端。所述穿刺针的深度和相对患者头部的位置都能得到稳定控制,减少了医护人员的操作负担。 | ||||
| 补充信息 | |||||
| 转让方式: | 成熟度: | 预估价值: | |||
| 市场前景: | |||||