样品
成果详情
| 项目简介 | |||||
|---|---|---|---|---|---|
| 技术简介: | |||||
| 专利类型: | 实用新型 | 专利申请号: | CN202020846212.2 | 公开号: | CN212879632U | 
| 专利权人: | 南方医科大学南方医院 | 发明设计人: | 闫文娟;凌志婷;郑梓婷 | ||
| 所属领域: | |||||
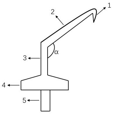
| 摘要: | 本实用新型公开一种改良式携热器,包括依次连接的工作尖、第一预弯连接体、第二预弯连接体、连接手柄卡口和导电体;工作尖为向左或向右弯曲的短而弯的尖端,与第一预弯连接体成90°;第一预弯连接体与第二预弯连接体之间形成120°‑150°;连接手柄卡口分两部分,上部呈圆盘帽状,与第二预弯连接体连接,下部为有纹路的圆柱体卡口,与导电体连接。本实用新型所述的改良式携热器能应用于根尖倒预备后的逆向牙胶切断,用于辅助口腔科显微根尖手术中根尖倒预备的过程,可根据患者牙位改良成左、右颌适配型,对根尖区域根管内牙胶进行逆向清除,达到降低牙本质破坏几率及提高倒预备效率的效果,提高根尖封闭性,增加显微根尖外科手术的成功率。 | ||||
| 补充信息 | |||||
| 转让方式: | 成熟度: | 预估价值: | |||
| 市场前景: | |||||